EasyManua.ls Logo

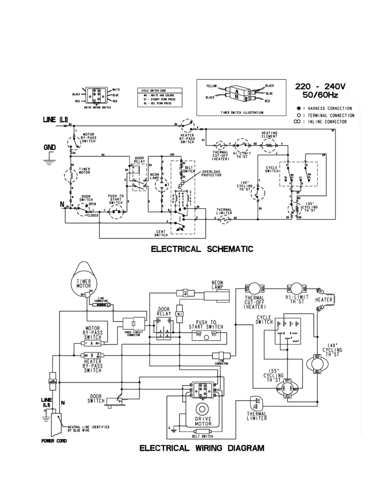
Maytag MDE17MN - WIRING DIAGRAMS; CS MODEL - ELECTRIC

Maytag MDE17MN
150 pages
Print Icon
To Next Page IconTo Next Page
To Next Page IconTo Next Page
To Previous Page IconTo Previous Page
To Previous Page IconTo Previous Page
Loading...
7-1
WIRING DIAGRAMS
CS model - electric

Table of Contents

Other manuals for Maytag MDE17MN

Related product manuals