EasyManua.ls Logo

Mazda CX-7 - Replacing a Tire

Mazda CX-7
522 pages
Print Icon
To Next Page IconTo Next Page
To Next Page IconTo Next Page
To Previous Page IconTo Previous Page
To Previous Page IconTo Previous Page
Loading...
Black plate (431,1)
CAUTION
Limited-Slip Differential system;
don't use the following:
Ø Tires not of the designated size
Ø Tires of diffe rent sizes or types at
the same time
Ø Tires not sufficiently inflated
If these instructions aren't followed,
the rotation of the left and right
wheels will be different and will thus
apply a constant load on the limited-
slip differential.
This will cause a malfunction.
qReplacing a Tire
WARNING
Always use tires that are in good
condition:
Driving with worn tires is dangerous.
Reduced braking, steering, and
traction could result in an accident.
Replace all four tires at the same time:
Replacing just one tire is dangerous.
It could cause poor handling and
poor braking resulting in loss of
vehicle control. Mazda strongly
recommends that you replace all four
tires at the same time.
CAUTION
(With Tire Pressure Monitoring
System)
When replacing/repairing the tires or
wheels or both, have the work done
by an Auth orized Mazda Dealer, or
the tire pressure sensors may be
damaged.
NOTE
(With Tire Pressure Monitoring System)
l
When tires with steel wire reinforcement in
the sidewalls are used, the system may not
function correctly even with a genuine
wheel.
Refer to System Error Activation on page
5-33.
l
Be sure to install the tire pressure sensors
whenever tires or wheels are replaced.
Refer to Tires and Wheels on page 5-33.
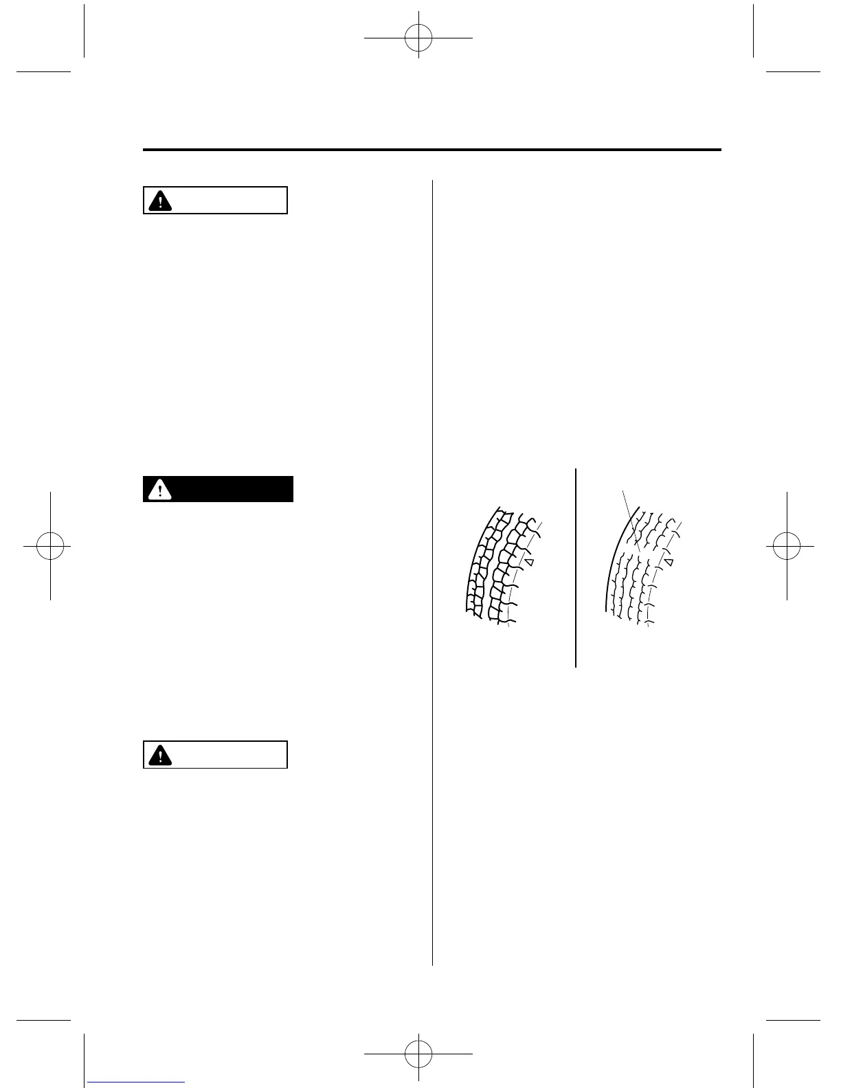
If a tire wears evenly, a wear indicator
will appear as a solid band across the
tread.
Replace the tire when this happens.
New tread
Tread wear indicator
Worn tread
You should replace the tire before the
band crosses the entire tread.
NOTE
Tires degrade over time, even when they are
not being used on the road. It is recommended
that tires generally be replaced when they are
6 years or older. Heat caused by hot climates
or frequent high loading conditions can
accelerate the aging process. You should
replace the spare tire when you replace the
other road tires due to the aging of the spare
tire. The period in which the tire was
manufactured (both week and year) is
indicated by a 4-digit number.
Refer to Tire Labeling on page 9-24.
Maintenance and Care
Owner Maintenance
8-39
CX-7_8CG3-EA-11J_Edition1 Page431
Saturday, September 24 2011 10:33 AM
Form No.8CG3-EA-11J

Table of Contents

Other manuals for Mazda CX-7

Related product manuals