EasyManua.ls Logo

McIntosh C1000P - Page 27

McIntosh C1000P
42 pages
To Next Page IconTo Next Page
To Next Page IconTo Next Page
To Previous Page IconTo Previous Page
To Previous Page IconTo Previous Page
Loading...
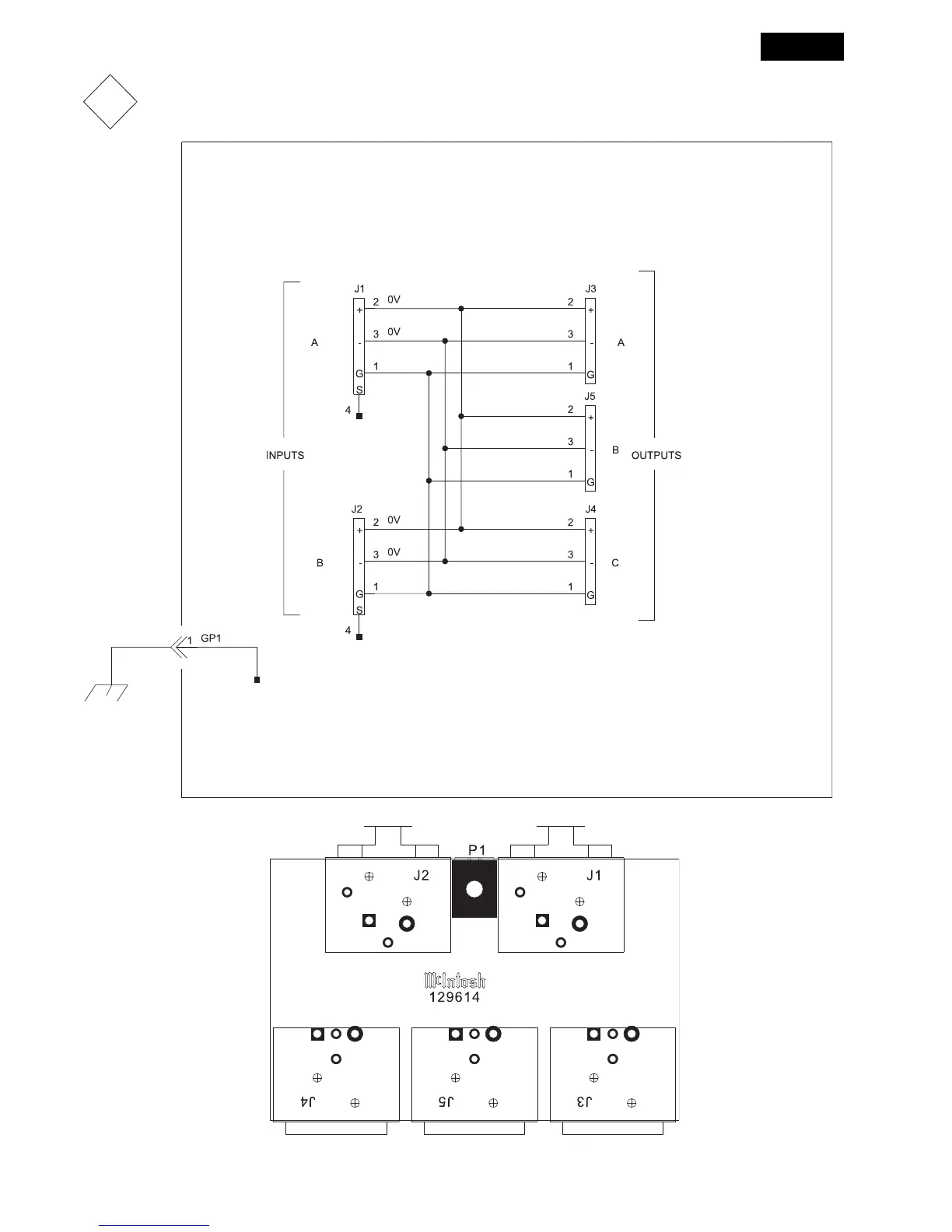
PREAMPLIFIER
C1000P
49
INTEGRATOR
129614 SH and PCB
11

Related product manuals