EasyManua.ls Logo

MEP SHARK 282 - Control Panel

MEP SHARK 282
152 pages
Print Icon
To Next Page IconTo Next Page
To Next Page IconTo Next Page
To Previous Page IconTo Previous Page
To Previous Page IconTo Previous Page
Loading...
MEP S.p.A.
6--34
77
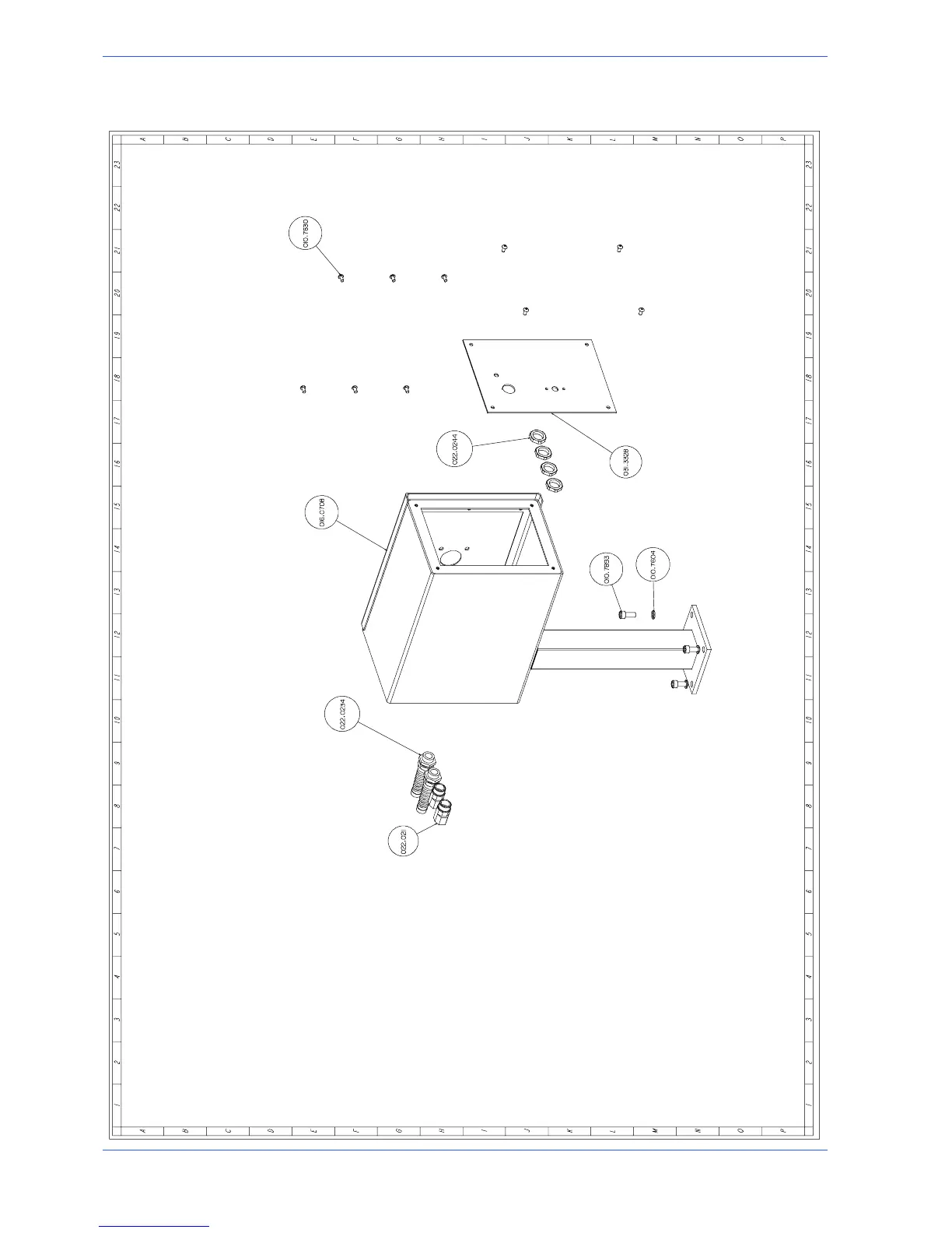
Use and maintenance manual SHARK 282
Control panel

Table of Contents

Related product manuals