EasyManua.ls Logo

Merik 511M FS2 - Coloque el Riel en la Ménsula del Cabezal

Merik 511M FS2
80 pages
Print Icon
To Next Page IconTo Next Page
To Next Page IconTo Next Page
To Previous Page IconTo Previous Page
To Previous Page IconTo Previous Page
Loading...
Seguro de aro
Pasador de chaveta
5/16"x2-3/4"
ESTAS PIEZAS SE MUESTRAN EN SU TAMAÑO REAL
Soporte
temporal
Soporte de cabecera
Pared de cabecera
Puerta de
garaje
Riel
Ménsula
Pasador de chaveta
5/16"x2-3/4"
Seguro de aro
Soporte de
cabecera
Ménsula
Riel
19
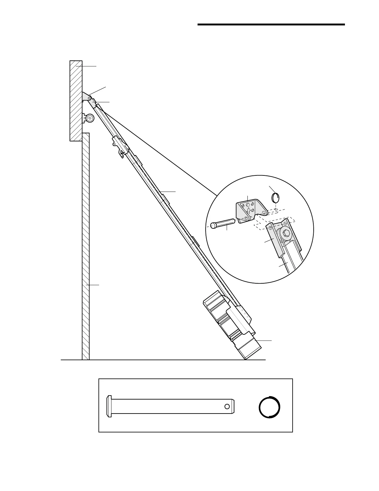
INSTALACIÓN PASO 3
Coloque el riel en la ménsula
del cabezal
• Coloque el abre-puertas sobre el piso del garaje debajo
de la ménsula del cabezal. Use el hule espuma del
empaque como base para protegerlo.
NOTA: Si el resorte de la puerta está obstruido, va a
necesitar ayuda. Otra persona tendrá que sostener el
abre-puertas firmemente sobre un soporte temporal para
ayudarle a que el riel pueda separarse del resorte.
• Coloque la ménsula del riel junto a la ménsula
del cabezal.
Alinee los orificios de las ménsulas y júntelas con un
pasador de chaveta como se muestra en la ilustración.
• Sujételos con un anillo sujetador.

Table of Contents

Related product manuals