EasyManua.ls Logo

Meyer's VB750 - Converting a Spreader from Closed Center to Open Center

Default Icon
60 pages
Print Icon
To Next Page IconTo Next Page
To Next Page IconTo Next Page
To Previous Page IconTo Previous Page
To Previous Page IconTo Previous Page
Loading...
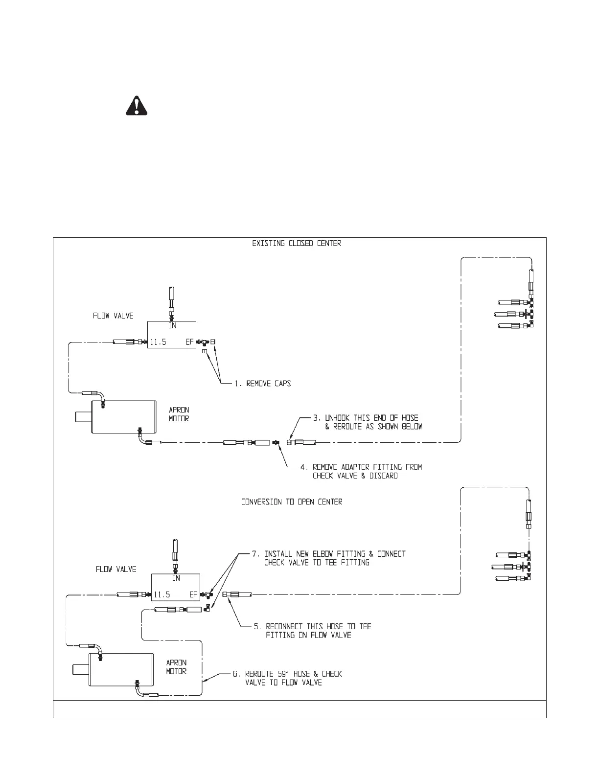
CONVERTING A SPREADER FROM
CLOSED CENTER TO OPEN CENTER
WARNING
ESCAPING HYDRAULIC FLUID UNDER PRESSURE
CAN PENETRATE THE SKIN AND CAUSE SERIOUS
INJURY. RELIEVE ALL PRESSURE FROM THE
HYDRAULIC SYSTEM BEFORE CONNECTING OR
DISCONNECTING THE LINES OR MAKING
REPAIRS. CHECK ALL HOSES AND FITTINGS
BEFORE START-UP AND PERIODICALLY DURING
OPERATION.
Most late model tractors use a closed center hydraulic
system which only pumps oil as required. Some other
tractors may have an open center system which
pumps oil continuously, in which case provision must
be made to allow excess flow back to the tractor reser
-
voir. This is done by converting your spreader to open
center as instructed in the following.
If you are not sure of your system, contact your tractor
dealer.
Page 13 MODEL: VB750
FIGURE 3. TO CONVERT ON NON FLOW CONTROLLED CLOSED CENTER SYSTEM TO OPEN CENTER

Table of Contents

Related product manuals