EasyManua.ls Logo

Micro Matic MMPP4302-PKG - WIRING DIAGRAMS; MMPP4301-EP Wiring Diagram; MMPP4301 Wiring Diagram

Micro Matic MMPP4302-PKG
24 pages
Print Icon
To Next Page IconTo Next Page
To Next Page IconTo Next Page
To Previous Page IconTo Previous Page
To Previous Page IconTo Previous Page
Loading...
MICROMATIC.COM | 866-327-4159 POWER PACK SERVICE MANUAL | 15
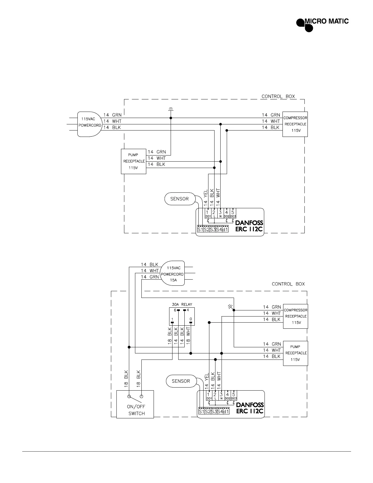
WIRING DIAGRAMS
MMPP4301-EP
MMPP4301

Related product manuals