EasyManua.ls Logo

Midea C Series - Drilling a Hole and Mounting Installation Board; Fix the Installation Board; Right Installation; False Installation

Midea C Series
57 pages
Print Icon
To Next Page IconTo Next Page
To Next Page IconTo Next Page
To Previous Page IconTo Previous Page
To Previous Page IconTo Previous Page
Loading...
MCAC-UTSM-201606 Midea 50Hz AC Fan Coil Unit Two-pipe Wall-mounted Series
- 32 -
A place which provides the space around the indoor unit as required right in the diagram.
There is strong electromagnetic wave existing.
A place which is far from heat, steam and inflammable gas.
13.4.2 Drilling A Hole and Mounting Installation Board
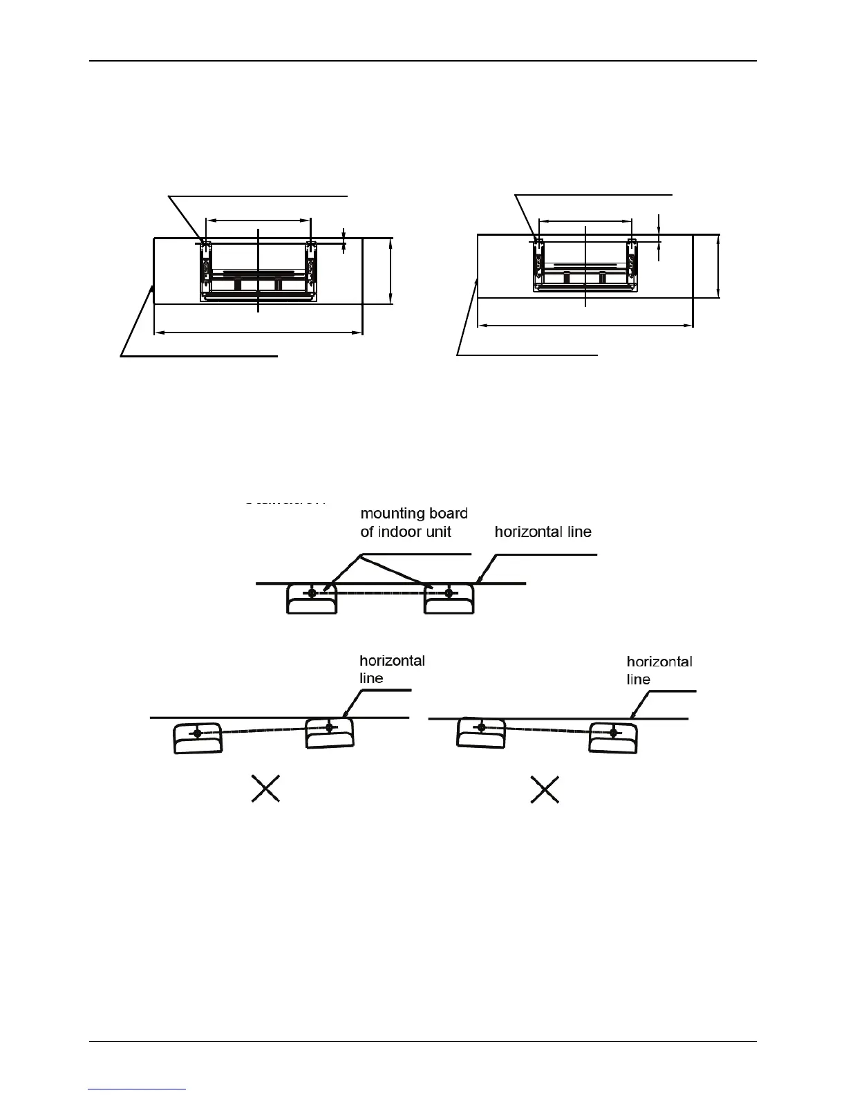
Installation Board and Its Direction (unit: mm)
250\300\400 type 500\600 type
Fix the installation board
Install the installation board horizontally on structural parts on the wall with the spaces provided around the
plate.
In case of brick, concrete or similar type walls, make 5mm dia. holes on the wall. Insert clip anchors for
appropriate mounting screws.
Fix the installation board on the wall.
Right installation
False installation
Drilling a hole
Determine the pipe hole position using the installation board, and drill the pipe hole (N95mm) so it slants
slightly downward.
Always use a wall hole conduit when piercing metal lath, ply wood or metal plate.
13.4.3 Connective Pipe and Drainage Installation
Drainage
Run the drain hose sloping downward. Do not install the drain hose as illustrated below.
460
25
290
915
m
o
u
n
t
i
n
g
b
o
a
r
d
o
f
i
n
d
o
o
r
unit
the
s
ha
p
e of indoor unit
73
0
3
1
6
1070
3
6
mounting board of indoor unit
the shape of indoor unit

Table of Contents

Related product manuals