EasyManua.ls Logo

Midea V4 Plus - Page 177

Midea V4 Plus
225 pages
Print Icon
To Next Page IconTo Next Page
To Next Page IconTo Next Page
To Previous Page IconTo Previous Page
To Previous Page IconTo Previous Page
Loading...
MCAC-VTSM-2016-04 R410A DC Inverter VRF V4 Plus W Series 50Hz
Installation 175
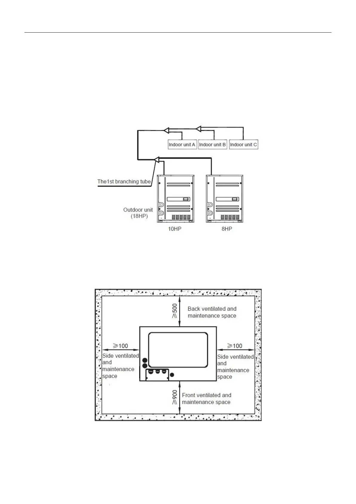
2.6 Main units’ placement sequence & master and slave units’ settings
A system, which provide with more than two main units, will be set as the followings method: The main units in
this
system should place sequentially from the large to the small capacity; the largest capacity main unit must be
mounted at the first branching site; and set the largest capacity main unit address as the master unit, while the
other setting as the slave unit. Take 18HP (composed by 10HP, 8HP ) as an example:
1) Place the 10HP at a side of the first branching site.
2) Place the unit from the large capacity to the small (See the detail placement illustration).
3) Set 10HP as the master unit, while the 8HP as the aux. unit.
2.7 Installation space for main unit
Ensure enough space for maintenance. The modules in the same system must be on the same height.
When installing the unit, leave a space for maintenance. Install the power supply at the side of the main
unit. For installation procedure, see the power supply device installation manual.
Installation space of single main unit

Related product manuals