EasyManua.ls Logo

Miele DA 3668 - Page 52

Miele DA 3668
72 pages
Print Icon
To Next Page IconTo Next Page
To Next Page IconTo Next Page
To Previous Page IconTo Previous Page
To Previous Page IconTo Previous Page
Loading...
Installation
52
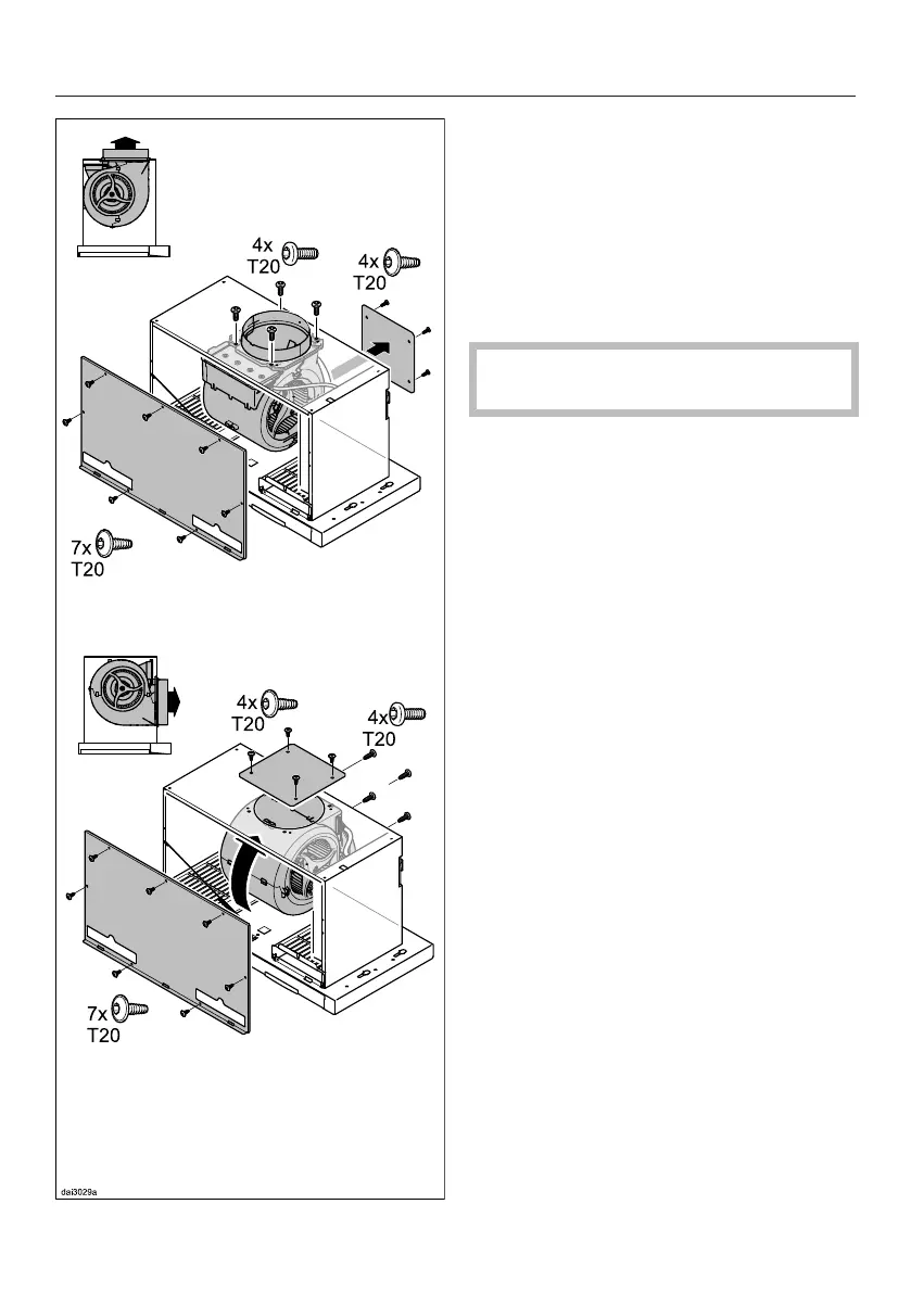
Repositioning the ducting connection
The fan can be rotated to allow the
ducting to be fitted at the back of the
cooker hood. This may be necessary if
the cooker hood is being fitted in a
reduced height wall unit, for example.
Repositioning is carried out before
installing the cooker hood.
The cooker hood must be
disconnected from the mains.
Undo the fixing screws on the front
panel of the cooker hood housing
and remove the panel.
Undo the screws from the cover on
the back of the cooker hood housing
and remove the cover.
Unscrew the fixing screws on the fan
unit.
Turn the fan unit towards the rear and
position the exhaust socket in the
cut-out in the back panel of the
cooker hood housing. Ensure when
turning the motor unit that the
connection cable does not become
detached.
Secure the fan in its new position.
Now secure the cover taken from the
back panel to the top of the housing.
Refit the front panel and secure it
using the screws.

Table of Contents

Related product manuals