EasyManua.ls Logo

Miele DA 424 V EXT - Appliance Dimensions

Miele DA 424 V EXT
40 pages
Print Icon
To Next Page IconTo Next Page
To Next Page IconTo Next Page
To Previous Page IconTo Previous Page
To Previous Page IconTo Previous Page
Loading...
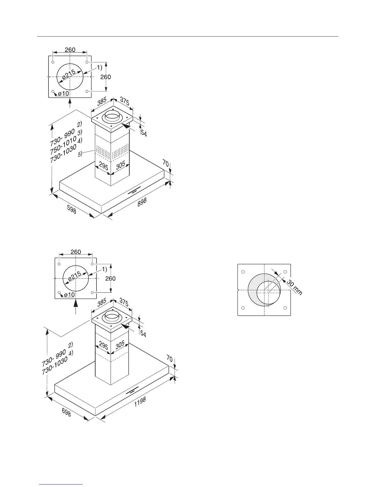
DA 420 V
(Ceiling fixing viewed from above)
DA 424 V
(Ceiling fixing viewed from above)
1) Cut-out for feeding through the
exhaust ducting and the mains cable
and, on EXT models, for feeding the
connection cable through to the
external motor.
A mains cable is necessary for
recirculation mode.
2) Height range for appliance in
extraction mode (the appliance is
delivered with this height range as stan
-
dard).
3) Height range for appliance in
recirculation mode.
4) Possible height range for appliance
in extraction mode (see "Installation").
5) Ventilation grille positioned at the top
for recirculation.
Exhaust connection C 150 mm (not
needed for recirculation mode)
The exhaust connection in the ceiling is
not fixed in the centre.
This means that installation is also
possible if the exhaust opening in the
ceiling is not directly aligned above the
centre of the cooktop. The difference
must not exceed 30 mm in all
directions.
Appliance dimensions
28

Related product manuals