EasyManua.ls Logo

Miele G 7216 - Page 98

Miele G 7216
100 pages
Print Icon
To Next Page IconTo Next Page
To Next Page IconTo Next Page
To Previous Page IconTo Previous Page
To Previous Page IconTo Previous Page
Loading...
Sound emission testing
98
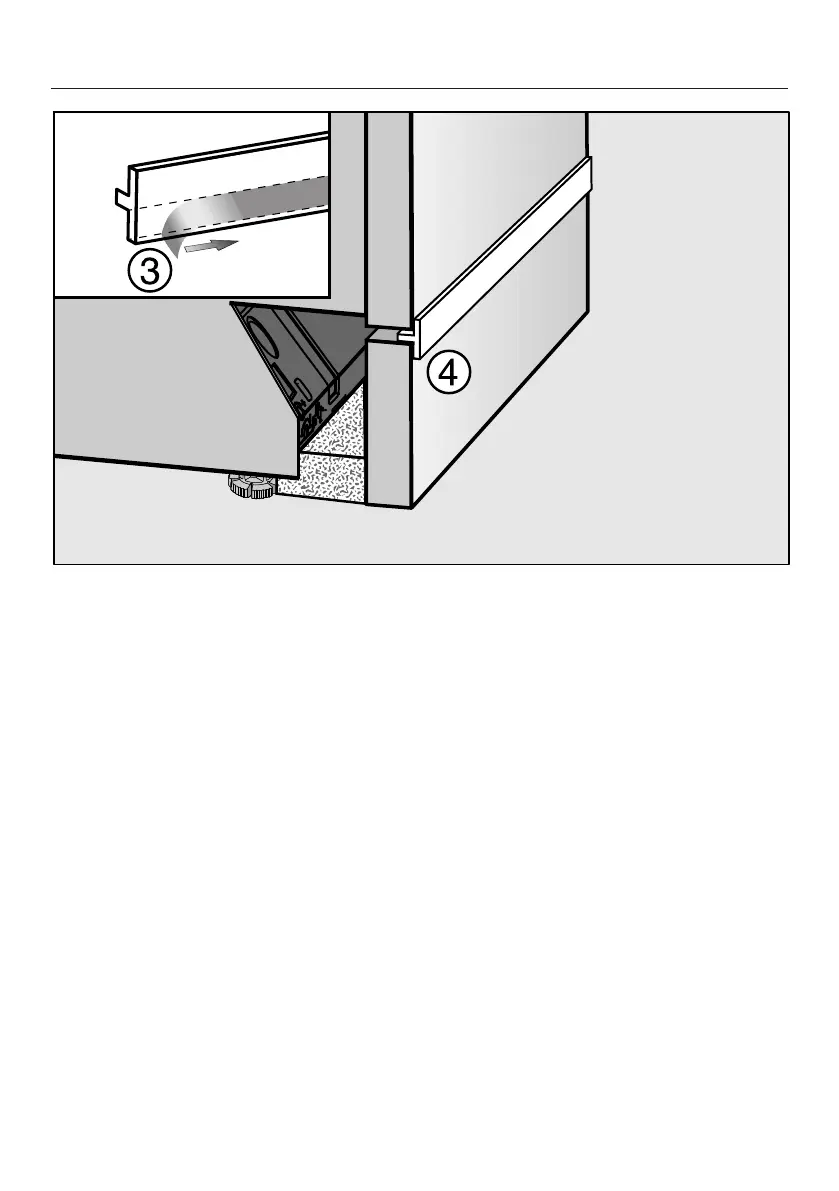
Remove the protective film from the provided insulating strip (depending on
model).
Stick the insulating strip onto the front top edge of the toe-kick board.

Table of Contents