EasyManua.ls Logo

Miele SmartLine - Page 41

Miele SmartLine
80 pages
Print Icon
To Next Page IconTo Next Page
To Next Page IconTo Next Page
To Previous Page IconTo Previous Page
To Previous Page IconTo Previous Page
Loading...
Installation
*INSTALLATION*
41
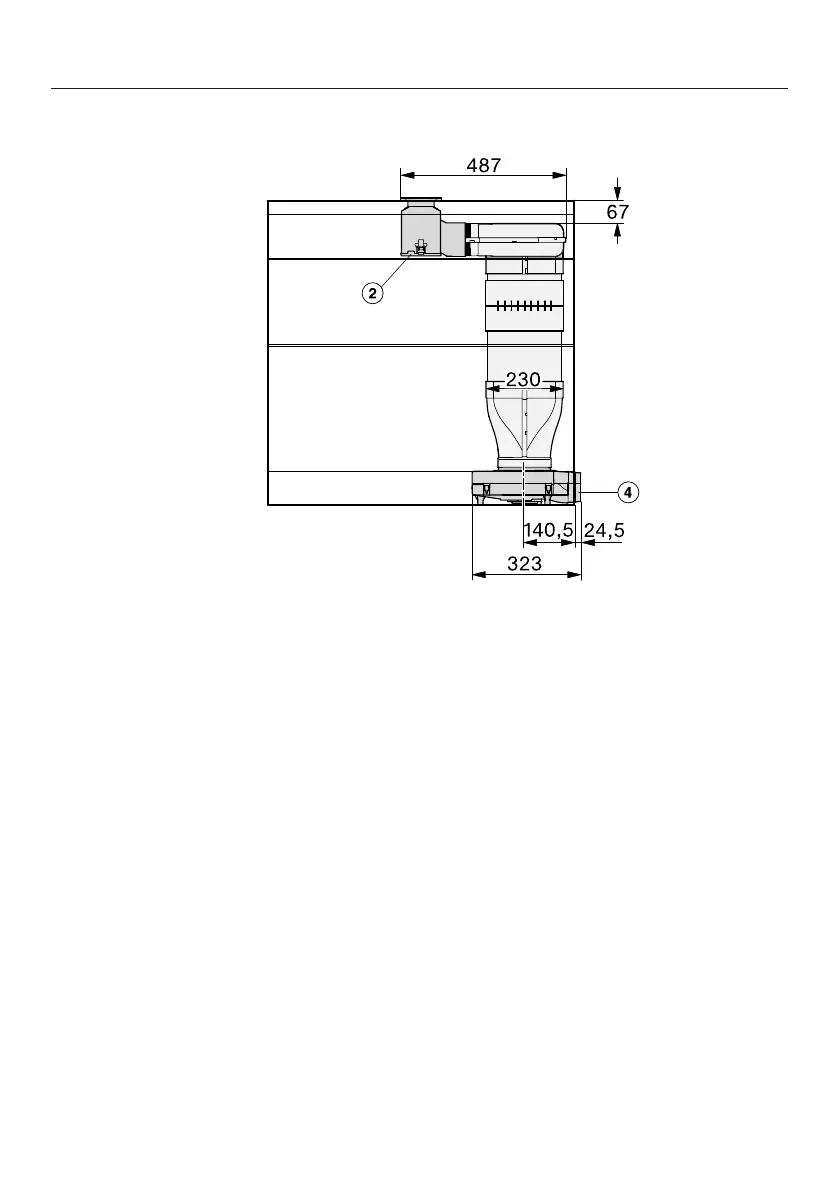
Front view

Related product manuals