EasyManua.ls Logo

Migatronic PI - Page 32

Migatronic PI
82 pages
Go to English
To Next Page IconTo Next Page
To Next Page IconTo Next Page
To Previous Page IconTo Previous Page
To Previous Page IconTo Previous Page
Loading...
32
Remote Control Option
Gör det möjligt att välja mellan 4 olika
metoder beroende på ansluten extern enhet.
Svetsström kan kontrolleras upp till tidigare indställd
eller max.
Extern referensspänning kan vara 0-10V eller 0-5V
(metod 2 och 3 ger lägre upplösning).
0 = 0-10V Imin to ISET (fabriksinställning)
1 = 0-10V Imin to IMAX
2 = 0-5V Imin to ISET
3 = 0-5V Imin to IMAX
Torch Remote Control
(Fjärrreglering av brännare)
Gäller softwareversioner från 2.17
Gör det möjligt att kontrollera användningen av
regleringsmodulen på brännarhandtaget, när hand-
tagsreglering är aktiv (
).
0 = Inställning av strömreferens
(fabriksinställning)
1 = Aktivering/deaktivering av TIG-A-Tack
(TIG-A-Tack knappen deaktiveras).
Regleringsmodulen hanteras som följer:
Steg 1-3: TIG-A-Tack är aktiv
Steg 4-7: Brännaravtryckaren
är inaktiv
Steg 8-10: TIG-A-Tack är inaktiv
2 = Upp/Ned modul
* Långt tryck för
konstant ökning/reducering
Läs mer om TIG Ergo-slangpaket på
http://migatronic.com
Sparar alla programinställningar i en fil på SD-kort.
Man skall sätta in ett SD-kort i maskinen (på samme
sätt som vid SW-update).
Läser in programinställningar från SD-kort. Program-
inställningarna skall vara sparade med hjälp av P.SA.
Alla ovanstående menyval ändras ej vid reset till fabriksinställ-
ning.
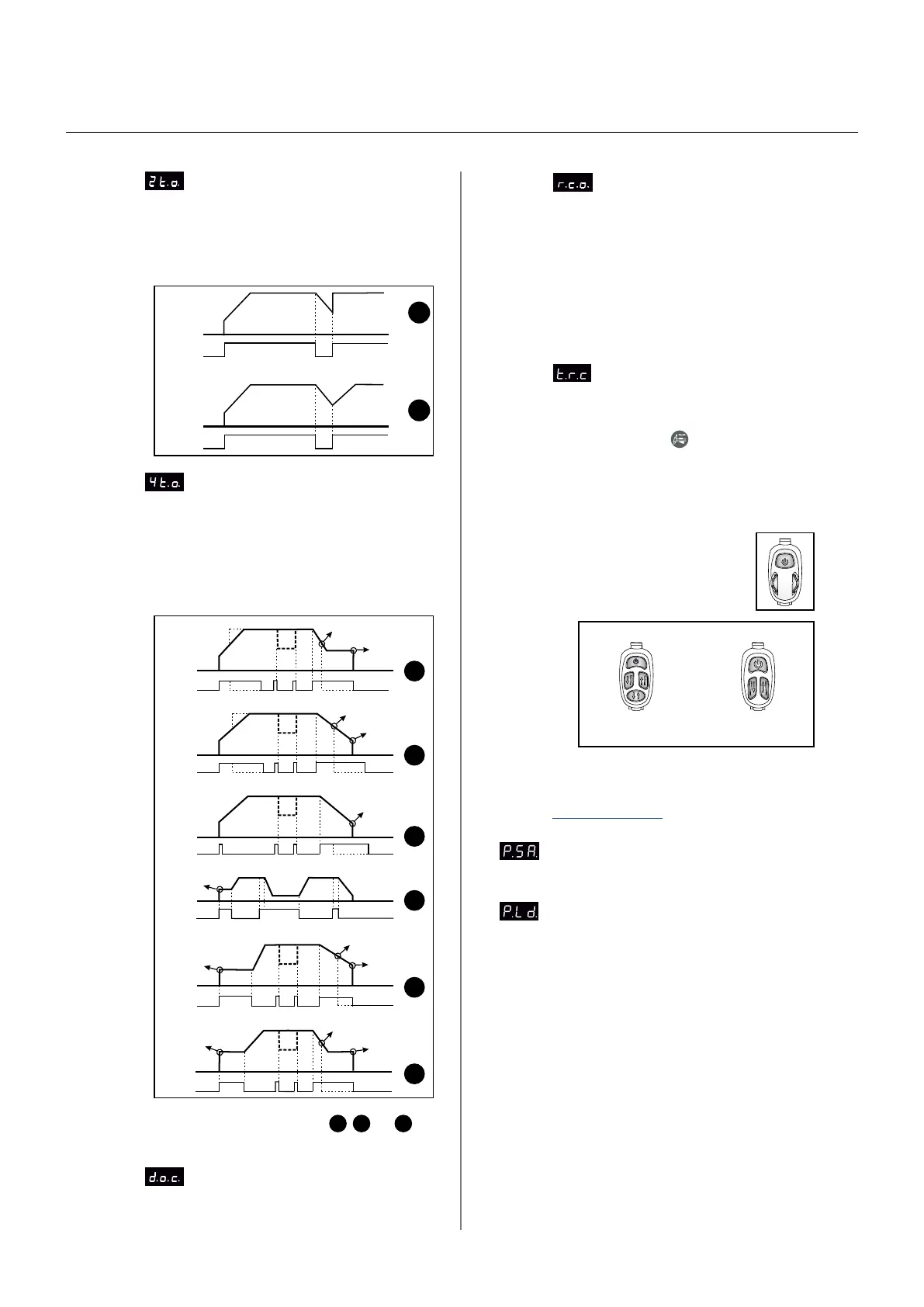
2-takt metodval
Gör det möjligt att välja mellan 2 olika
metoder för att kontrollera återstart av maskinen
under strömsänkning. Följande diagram visar de olika
principerna.
0: retur till svetsström vid step (fabriksinställning)
1: Retur till svetsström vid slope-up
4-takt metodval
Gör det möjligt att välja mellan 6 olika metoder
för att kontrollera avtryckarknappen, när maskinen
är inställd till 4-takt avtryckarmetod (Liftig eller HF).
Metod 3 kallas 4T-REPEAT och tillåter aktiv ljusbåge vid
slutet av slope-down och gör det lättare att återstarta
sekvens. I metod 3 är funktionen “Sekundär strömnivå”
frånkopplad. De följande diagrammen visar de olika
principerna. Välj mellan 0...5 (1=fabriksinställning).
Obs: Startströmmen deaktiveras i
3
,
4
och
5
, om
slope-up tiden är inställd på 0.
Dynamic Oxide Control
(till AC svetsning)
0 = deaktiverat
1 = aktiverat (fabriksinställning)
Press / Release
By STEP
By SlopeUP
Press / Release
0
1
Press / Release
Press / Release
Press / Release
Press / Release
Stop when
slope completed
Keep
final current
0
1
2
3
Press / Release
Keep
final current
5
Press / Release
Stop when
slope completed
4
Stop when key is released
Stop when key is released
Stop when
slope completed
Stop when key is released
Keep
start current
Keep
start current
Keep
start current
Stop when key is released
TIG-A-Tack
aktiv/inaktiv
2A/
* 2A/*
Avtryckare
2A/* 2A/*
Avtryckare
4
3
2
9
10
PI funktionspaneler

Related product manuals