EasyManua.ls Logo

Migatronic PI - Page 50

Migatronic PI
82 pages
Go to English
To Next Page IconTo Next Page
To Next Page IconTo Next Page
To Previous Page IconTo Previous Page
To Previous Page IconTo Previous Page
Loading...
50
Dynamic Oxide Control
(vaihtovirtahitsauksessa)
0 = ei käytössä
1 = käytössä (oletusasetus)
Remote Control Option
Kaukosäätö (lisävaruste)
Mahdollisuus valita 4 erillaista arvoa, jotka ovat
ulkoisessa langansyöttölaitteessa. Hitsausvirta voi
kontrolloida aikaisemmin asetettua hitsausvirtaa tai
maksimi hitsausvirtaa.
Ulkoinen viitejännite voi olla 0-10V tai 0-5V (Kuviosta 2
ja 3 tulee matala tulos)
0 = 0-10V Imin to ISET (tehdasasetus)
1 = 0-10V Imin to IMAX
2 = 0-5V Imin to ISET
3 = 0-5V Imin to IMAX
Poltinsäätö (Torch Remote Control)
Koskee ohjelmistoversioita 2.17:sta eteenpäin
Poltinsäädön käyttötavan valinta, kun polttimen
säätöyksikkö on käytössä (
).
0 = Asetus hitsausvirran säädölle (oletusasetus).
1 = TIG-A-Tack on käytössä/ei ole käytössä
(TIG-A-Tack –näppäin ei ole käytössä).
Säätöyksikköä käytetään seuraavasti:
Askeleet 1-3: TIG-A-Tack on
käytössä
Askeleet 4-7: Liipaisin ei ole
käytössä
Askeleet 8-10: TIG-A-Tack ei ole
käytössä
2 = Ylös/Alas moduuli
* Pidä painettuna säätääksesi
nopeasti enemmän/vähemmän
Lisätietoja TIG Ergo polttimista http://migatronic.com
Tallentaa kaikki ohjelma-asetukset SD kortille. Aseta SD-
kortti laitteeseen (samalla tavalla kuin Ohjelmapäivitys).
Lataa ohjelma-asetukset SD-kortilta. Käytä P.SA.
tallentaaksesi ohjelma-asetukset.
Edellä mainittuja asetuksia ei voi muuttaa palauttamalla (reset).
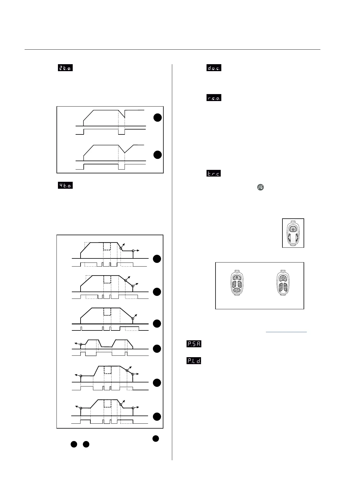
2-tahtitoiminto
On mahdollista valita 2 erillaista
toimintomahdollisuutta virranlaskulle. Seuraavat
kaaviot näyttävät periaatteen.
0: palauttaa heti asetetun hitsausvirran (tehdasasetus)
1: palauttaa asetetun hitsausvirran valitun nousuajan
jälkeen
4-tahtitoiminto hitsauspolttimen liipaisimella
Hitsauspolttimen liipaisimelle voidaan
määritellä 6 eri säätötapaa kun 4-tahtitoiminto on
valittuna (Lift l. nosto tai HF-korkeataajuus). Kolmas
mahdollisuus on 4T-REPEAT, jolla voidaan aktiivisen
valokaaren jälkeen vaihtaa sekvenssiä. Tässä tilassa
ei voida säätää sekundääristä virtaa. Alla olevissa
kaavioissa tavat on kuvattu yksityiskohtaisesti. Valitse
haluamasi arvo väliltä 0...5 (1= oletusarvo).
Huomaa: Aloitusvirta on poistettu käytöstä kohdissa
3
,
4
ja
5
jos virrannousuaika (Slope-up) on
asetettu 0.
Press / Release
By STEP
By SlopeUP
Press / Release
0
1
Press / Release
Press / Release
Press / Release
Press / Release
Stop when
slope completed
Keep
final current
0
1
2
3
Press / Release
Keep
final current
5
Press / Release
Stop when
slope completed
4
Stop when key is released
Stop when key is released
Stop when
slope completed
Stop when key is released
Keep
start current
Keep
start current
Keep
start current
Stop when key is released
Päälle/Pois
TIG-A-Tack
2A/
* 2A/*
Liipaisin
2A/* 2A/*
Liipaisin
4
3
2
9
10
PI ohjauspaneeli

Related product manuals