EasyManua.ls Logo

Migatronic PI - Page 80

Migatronic PI
82 pages
Go to English
To Next Page IconTo Next Page
To Next Page IconTo Next Page
To Previous Page IconTo Previous Page
To Previous Page IconTo Previous Page
Loading...
80
Dynamická regulace oxidu
(pro AC svařování)
0 = vypnutá
1 = zapnutá (tovární nastavení)
Volba dálkového ovládání
Je možné zvolit 4 různé způsoby v závislosti na
externím zařízení připojeném k 8pólovému konektoru
(zvláštní příslušenství).
Svařovací proud lze regulovat na předem nastavenou
hodnotu (SET) nebo na maximální hodnotu (MAX).
Vnější referenční napětí může být 0–10 V nebo 0–5 V
(stavy 2 a 3 představují nižší rozlišení).
0 = 0-10V Imin až ISET (tovární nastavení)
1 = 0-10V Imin až IMAX
2 = 0-5V Imin až ISET
3 = 0-5V Imin až IMAX
Dálková regulace z hořáku
Pro zdroje s verzí software 2.17 a vyšší
Nastavení funkcí dálkové regulace z rukojeti hořáku, je-li
dálková regulace zvolena.
0 = Nastavení proudu (výchozí tovární nastavení).
1 = Povolení / nepovolení TIG-A-Tack
(tlačítko TIG-A-Tack je neaktivní).
Dálková regulace nastavuje:
Stupeň 1-3: TIG-A-Tack je povolen
Stupeň 4-7: Spoušť hořáku je
deaktivovaná
Stupeň 8-10: TIG-A-Tack je
nepovolen
2 = Up/Down regulace hořáku
* Držte stisknuté pro trvalé
zvyšování/snižování po 2Aí
Více o hořácích TIG Ergo najdete na
http://migatronic.com
Uložení všech nastavení programů na SD kartu. Vlože
SD kartu do stroje (stejný postup jako při aktualizaci
software).
Instalace nastavení programů z SD karty. Pro jejich
uložení na SD kartu použijte P.SA.
Všechna uvedená nastavení se resetem nezmění.
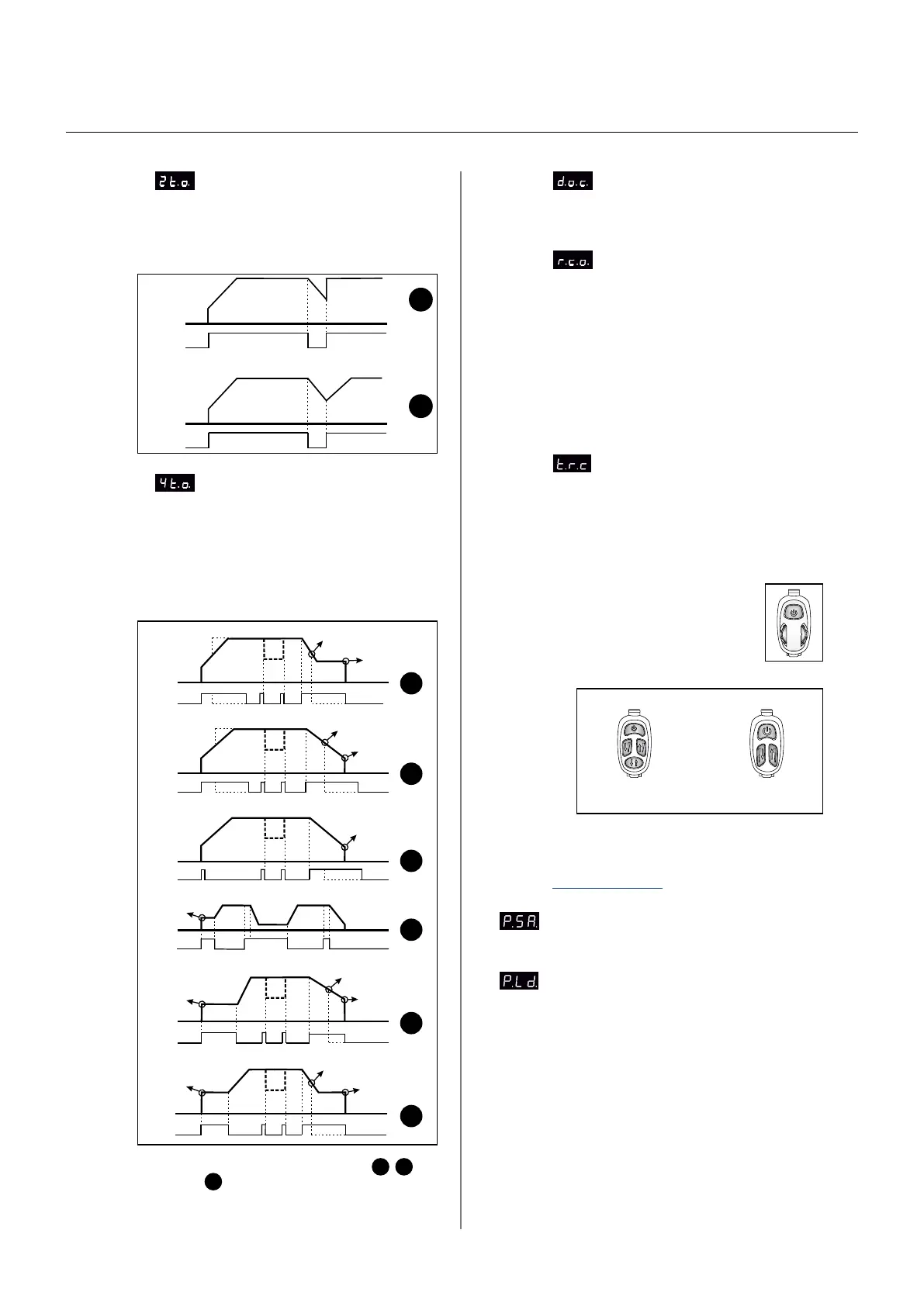
Volba 2taktního režimu spouště hořáku
Umožňuje definovat dva různé způsoby
opětného spuštění stroje během doběhu. Podrobný
popis různých režimů najdete v následujících grafech.
0: Okamžitý návrat ke svařovacímu proudu (výchozí)
1: Návrat ke svařovacímu proudu pomocí náběhu.
Volba 4taktního režimu spouště hořáku
Umožňuje definovat 6 různé způsoby ovládání
spouště hořáku, je-li pro stroj nastaven 4taktní zdvih
(Lift nebo HF). Režim 3 má název 4T-REPEAT a umožňuje
udržet oblouk rovněž na konci doběhu z důvodu
snazšího opětného spuštění sekvence. V režimu 3 je
funkce „Sekundární proud“ neaktivní. Podrobný popis
různých režimů najdete v následujících grafech. Zvolte
hodnotu v rozsahu 0 až 5 (1 = výchozí nastavení).
Upozornění: Startovací proud neproběhne při
3
,
4
a
5
, je-li doba náběhu nastavená na 0.
By STEP
By SlopeUP
0
1
Stisk tlačítka
hořáku
Stisk tlačítka
hořáku
Držení
startovacího
proudu
0
1
2
3
5
4
Stisk tlačítka
hořáku
Stisk tlačítka
hořáku
Stisk tlačítka
hořáku
Stisk tlačítka
hořáku
Stisk tlačítka
hořáku
Stisk tlačítka
hořáku
Okamžité ukončení
po uvolnění tlačítka
Udržení
koncového proudu
Okamžité ukončení
po uvolnění tlačítka
Zhasnutí oblouku
po zaplnění kráteru
Zhasnutí oblouku
po zaplnění kráteru
Držení
startovacího
proudu
Držení
startovacího
proudu
Okamžité ukončení
po uvolnění tlačítka
Zhasnutí oblouku
po zaplnění kráteru
Okamžité ukončení
po uvolnění tlačítka
Udržení
koncového proudu
Zapnutí/Vypnutí
TIG-A-Tack
2A/
* 2A/*
Spínač
2A/* 2A/*
Spínač
4
3
2
9
10
Řídící panel PI

Related product manuals