EasyManua.ls Logo

Minebea CSA-522B - Instrument Functions and Panel Layout; Front Panel Components

Default Icon
38 pages
Print Icon
To Next Page IconTo Next Page
To Next Page IconTo Next Page
To Previous Page IconTo Previous Page
To Previous Page IconTo Previous Page
Loading...
1
1. Each function and name
1-1. Front panel
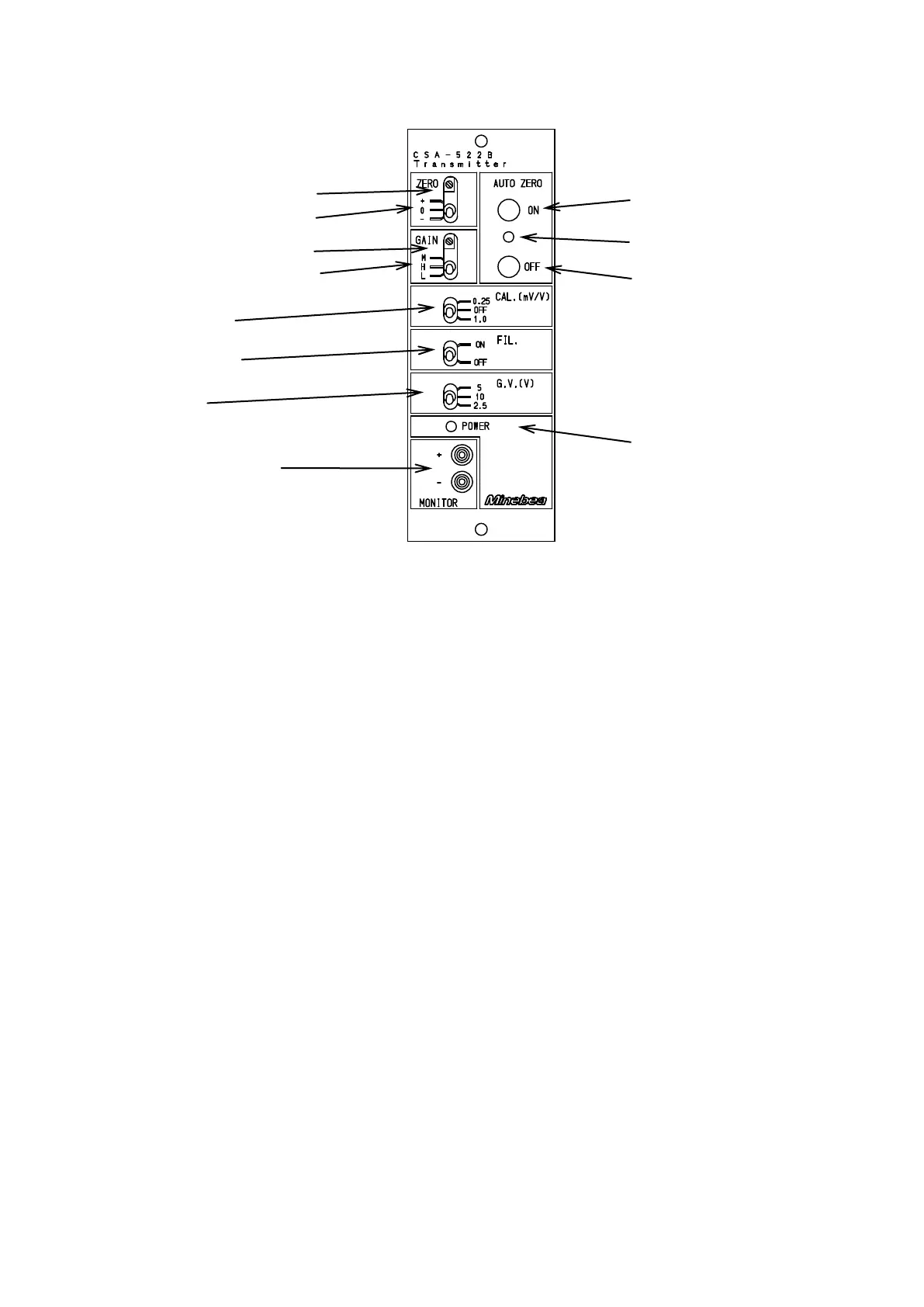
POWER LED
It lights by turning on the power supply (POWER switch ON).
ZERO Fine control trimmer
It is a trimmer for the fine control of zero.
ZERO Coarse control switch
It is a switch for the coarse control of zero. Some ±0.3mV/V input is shifted.
GAIN Fine control trimmer
It is a trimmer for the fine control of amplification degree.
GAIN Coarse control switch
It is a trimmer for the coarse control of amplification degree. It is 1000 times in L, 2000 times in M,
and 3000 times in H.
CALIB switch
It is a switch that turns the CAILB value on and off.
FILTER switch
It is a switch that changes the frequency response.
It is 25 kHz in OFF, and 1 Hz or 30 Hz in ON. (Change with the DIP switch on the circuit board.)
GV switch
The power supply voltage of the bridge to the strain gage applied transducer is selected.
MONITOR terminal
It is a terminal to monitor the output voltage value.
AUTO ZERO LED (Options)
LED lights while auto zero executions
AUTO ZERO ON switch (Options)
The analog output when pushing is adjusted to 0 volt.
Please release the auto zero when you calibrate.
AUTO ZERO OFF switch (Options)
Auto zero is released.
POWER LED
ZERO coarse control switch
ZERO fine control trimmer
GAIN fine control trimmer
GAIN coarse control switch
CALIB switch
FILTER switch
AUTO ZERO LED
MONITOR terminal
GV switch
AUTO ZERO OFF switch
AUTO ZERO ON switch

Related product manuals