EasyManua.ls Logo

Minster IOI - To Check for Air Leaks in the die Cushion System; To Replace Rail Mounted die Cushion System Air Seals; Die Cushion

Default Icon
92 pages
Print Icon
To Next Page IconTo Next Page
To Next Page IconTo Next Page
To Previous Page IconTo Previous Page
To Previous Page IconTo Previous Page
Loading...
To Check For Air Leaks
In The Die Cushion System:
1. Pressurize the die cushion to approximately 60 psi
(4.1 Bar) and then close the air lockout valve.
2. Observe die cushion gauge for a sudden or rapid
drop in pressure. If pressure drops rapidly, and
external piping shows no signs of leakage (See “Air
Leaks,” page E-15,) the problem is most likely due
to a worn air seal within the cylinder.
NOTE: Two (2) types of die cushions are provided
by Minster, a rail mounted die cushion and
a trunion mounted die cushion. Refer to the
applicable instructions, below, for servicing
information.
To Replace Rail Mounted
Die Cushion System Air Seals:
NOTE: The following procedure applies to Minster die
cushions only. Refer to the service information
supplied by the die cushion manufacturer
when servicing a die cushion that was provid-
ed by an alternate vendor.
1. Stop the main drive motor.
2. Place the POWER, OFF-ON or POWER, OFF-ON-
BAR Selector Switch (whichever is applicable) in
the OFF position and remove the key (if applicable)
to lock the switch in the OFF position.
3. Lock the disconnect switch in the OFF position.
Make certain that the flywheel has stopped turning
completely. Attach a WARNING sign to the press
controls to advise other personnel that the press is
currently being serviced.
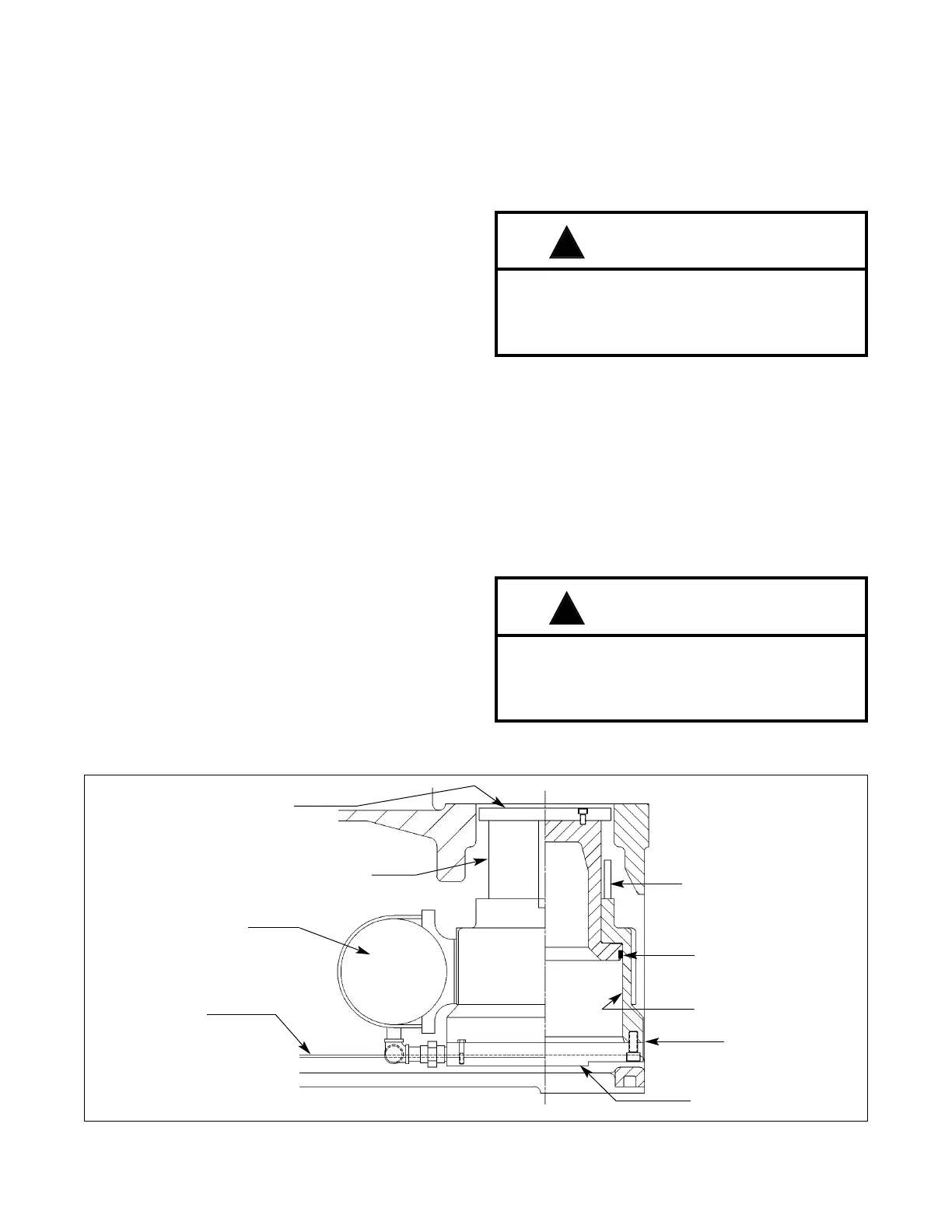
4. Remove the cylinder stop from lower cylinder. (See
Figure 9E.)
5. Shut OFF the air supply to the press and lock the air
lockout valve.
6. Discharge all air pressure from die cushion. To be
certain all pressure is released from the unit, dis-
connect pipe unions in the air supply lines that feed,
and are directly attached to, the die cushion unit.
WARNING
NEVER ATTEMPT TO DISMANTLE ANY PART OF
THE DIE CUSHION ASSEMBLY UNTIL ALL PRES-
SURE WITHIN THE UNIT HAS BEEN COMPLETELY
DISCHARGED.
7. Remove the four (4) .500” - 13 x 2.50” long Hex.
Head Cap Screws that secure die cushion to the
die cushion mounting rails. Remove die cushion
from press.
8.
Remove the four (4) .625” - 11 x 1.75” long Socket
Head Cap Screws that secure the cover plate to the
die cushion cylinder piston. Two (2) of the mounting
bolt holes are tapped (.750” - 10) for handling pur-
poses. Install eyebolts in these holes and remove
the cover plate.
WARNING
MAKE CERTAIN THAT THE CRANE OR HOIST AND
ASSOCIATED CABLES, CHAIN AND HOOKS ARE
CAPABLE OF SAFELY LIFTING THE WEIGHT
INVOLVED.
E - 12
Die Cushion
Mounting Rail
Air Tank
Cylinder Piston
Cover Plate
Cylinder Stop
Piston Seal
Lower Cylinder
Gasket
Bottom Plate
~
Figure 9E. Rail mounted die cushion.
!
!

Table of Contents

Related product manuals