EasyManua.ls Logo

Minster IOI - To Adjust Crossbar Knockout; Cam Knockout; To Adjust the Cam Knockout

Default Icon
92 pages
Print Icon
To Next Page IconTo Next Page
To Next Page IconTo Next Page
To Previous Page IconTo Previous Page
To Previous Page IconTo Previous Page
Loading...
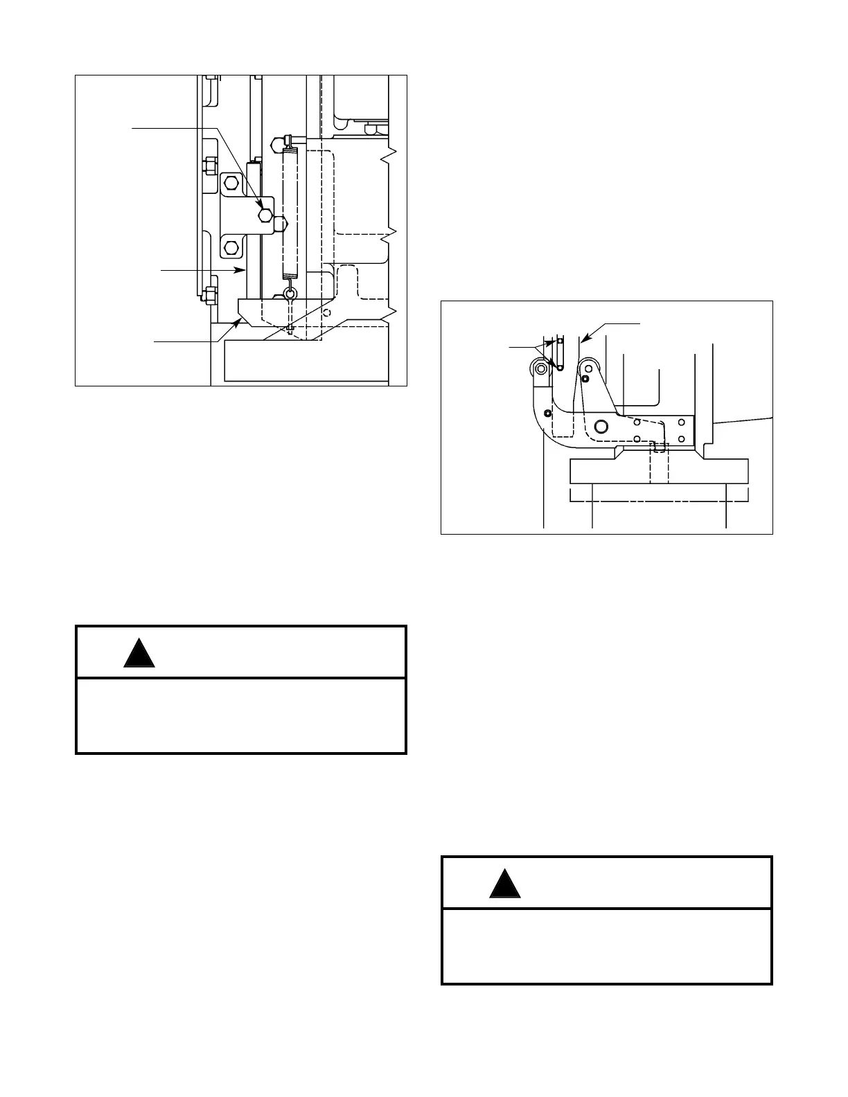
To Adjust Crossbar Knockout:
1. Make certain the die is installed and the shutheight
is set correctly for that die. Do not place material
between dies.
2. Place the POWER, OFF-ON-BAR Selector Switch
in the ON position.
3. Start the main drive motor and place the Stroking
Selector Switch in the INCH position. Place the
SPEED, SLOW-FAST Selector Switch (if provided)
in the SLOW position. Then inch the slide to the bot-
tom of the stroke.
WARNING
MAKE CERTAIN THAT ALL PERSONS AVOID ANY
PINCHING POINTS ASSOCIATED WITH THE OPER-
ATION OF THE PRESS AND/OR ITS AUXILIARY
EQUIPMENT.
4. Continue inching the slide slowly on the upstroke
until the top of the knockout bar is approximately
one inch below the bottom of the knockout rods.
5. Loosen bracket clamp screws on both front and rear
brackets, allowing knockout rods to slip down and
rest on the knockout bar.
6. Continue to inch the slide to the top of the stroke
with knockout rods loose. Make certain knockout
bar is in the lowest position of knockout travel.
7. With the slide at the top of the stroke, tighten clamp
screws. Knockout mechanism should now be ready
for use. Run a sample part to check adjustment.
CAM KNOCKOUT
A cam knockout arrangement is also available as an
option. This mechanism, however, requires a special
slide and is available only when ordered on a new
press or by replacing the complete slide assembly. A
cam knockout requires adjustment when the slide shut-
height is changed.
To Adjust The Cam Knockout:
(Ref. Figure 9F)
NOTE: An improper cam knockout adjustment may
cause gib alignment problems or galling.
1. Adjust the slide shutheight, following the proper
procedure outlined under “Slide Shutheight Adjust-
ment” in the Operation Manual (furnished). Do not
place material between dies. Record the direction
and distance of shutheight change.
2. Loosen the two (2) .625” - 11 Hex. Head Cap
Screws which secure the cam to the press frame.
Adjust the cam the same direction and distance as
the shutheight change.
3. Place the POWER, OFF-ON-BAR Selector Switch
in the ON position.
4. Start the main drive motor and place the Stroking
Selector Switch in the INCH position. Place the
SPEED, SLOW-FAST Selector Switch (if provided)
in the SLOW position. Then inch the slide toward
the bottom of the stroke.
WARNING
MAKE CERTAIN THAT ALL PERSONS AVOID ANY
PINCHING POINTS ASSOCIATED WITH THE OPER-
ATION OF THE PRESS AND/OR ITS AUXILIARY
EQUIPMENT.
F - 9
Clamp
Screw
Knockout
Rod
Knockout
Bar
Figure 8F. Crossbar knockout adjustment.
!
Crown
.625” - 11
Cam
Adjustment
Screws
Figure 9F. Cam knockout adjustment.
!

Table of Contents

Related product manuals