EasyManua.ls Logo

Mouvex HYDRIVE 2010A - Page 5

Mouvex HYDRIVE 2010A
16 pages
Print Icon
To Next Page IconTo Next Page
To Next Page IconTo Next Page
To Previous Page IconTo Previous Page
To Previous Page IconTo Previous Page
Loading...
5/16
NT 206-A00 10.11 Hydrive e
3. INSTALLATION (continued)
There are 2 versions of the HYDRIVE 2010, standard version
and selector valve version. (NOTE : Use a remote on / off
valve on hydraulic systems using the hydrive 2010 without
the selector valve).
The selector version features a manually operated spool
valve so that the high pressure oil (from the hydraulic pump)
can be switched between two possible hydraulic motors
(Motor 1 & Motor 2). The valve can also be set to neutral posi-
tion with the system unloaded, and the oil returning back to
the tank.
The selector version is designed for tanker applications
where both a compressor and pump may be installed on a
vehicle but operated separately. HYDRIVES are NOT suita-
ble for use with hydraulic cylinders.
The selector valve is NOT available for the HYDRIVE 2020
model.
The HYDRIVE 2010 is not designed for use with 2 motors
running simultaneously unless the system is designed to
allow multi motor operation.
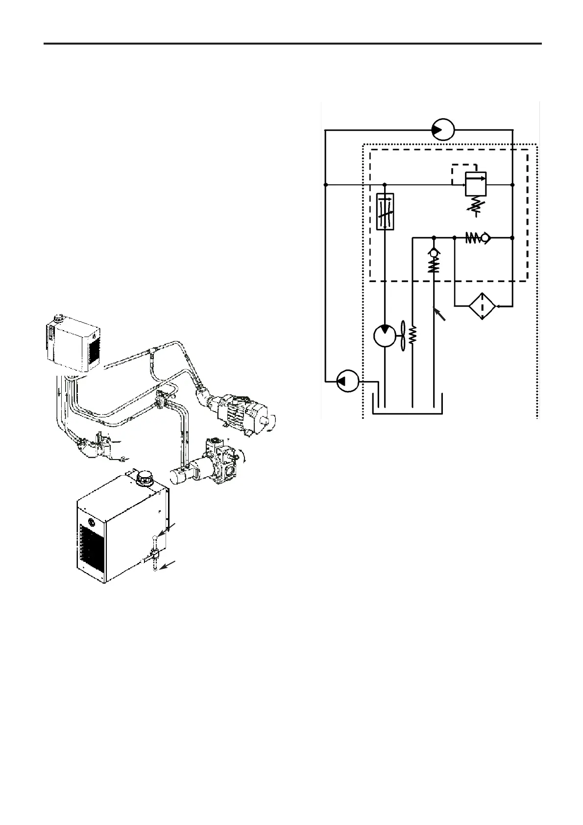
3.1.1 STANDARD HYDRIVE 2010A & 2020A
HYDRAULIC CIRCUIT
1. Adjustable relief valve
2. Fan speed control valve
3. Return line filter
4. Fan motor
5. Filter by-pass valve
6. Oil cooler radiator
7. Fan
8. System pressure gauge point
(not accessible for the 2010)
9. Return pressure gauge point
NOTES
THE DRIVEN MACHINE, PUMP OR COMPRESSOR, WILL START AUTO-
MATICALLY WHEN THE HYDRAULIC PUMP IS ENGAGED UNLESS A
REMOTE ON/OFF CONTROL VALVE IS INSTALLED IN THE SYSTEM.
A cold start bypass protects the cooler and quickly warms the
oil to its normal working temperature.
Direction
valve
Compressor
(Motor 1)
Pompe (Motor 2)
Figure 2
HYDRIVE 2010 with selector valve
Motor 1
Motor 2
HYDRIVE
Hydraulic
pump
Oil tank
Suction
line
High pressure line
1
3
4
5
6
7
8
9
Hydraulic
pump
Return line
Cold start
bypass
Valve block