EasyManua.ls Logo

Movincool Classic Plus 14 - Operation; Control Panel Overview

Movincool Classic Plus 14
35 pages
Print Icon
To Next Page IconTo Next Page
To Next Page IconTo Next Page
To Previous Page IconTo Previous Page
To Previous Page IconTo Previous Page
Loading...
16
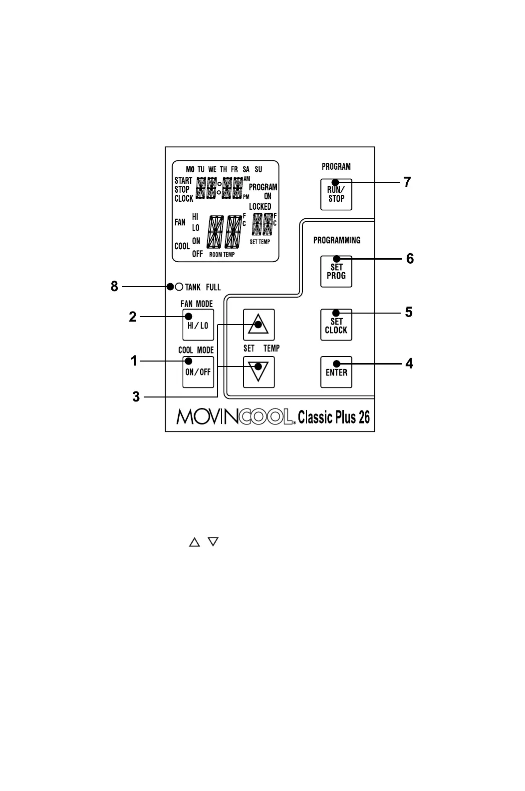
OPERATION
Control Panel
Before operating the unit, it is important to familiarize yourself with the basic
controls located on the control panel.
1. COOL Mode Button Activates/deactivates the COOL mode/
turns the unit off.
2. FAN Mode Button Activates/deactivates the high, low, and off
fan speed.
3. SET TEMP Buttons ( / )
Temperature scale illuminates to indicate
the current LED temperatures being
displayed are either in °C or °F; also
displays the clock when programming.
4. ENTER Button Press to select set value.

Other manuals for Movincool Classic Plus 14

Related product manuals