EasyManua.ls Logo

Movincool Classic Plus 14 - Operation (cont.); Condensate Pump Kit (Classic Plus 14)

Movincool Classic Plus 14
35 pages
Print Icon
To Next Page IconTo Next Page
To Next Page IconTo Next Page
To Previous Page IconTo Previous Page
To Previous Page IconTo Previous Page
Loading...
27
OPERATION (cont.)
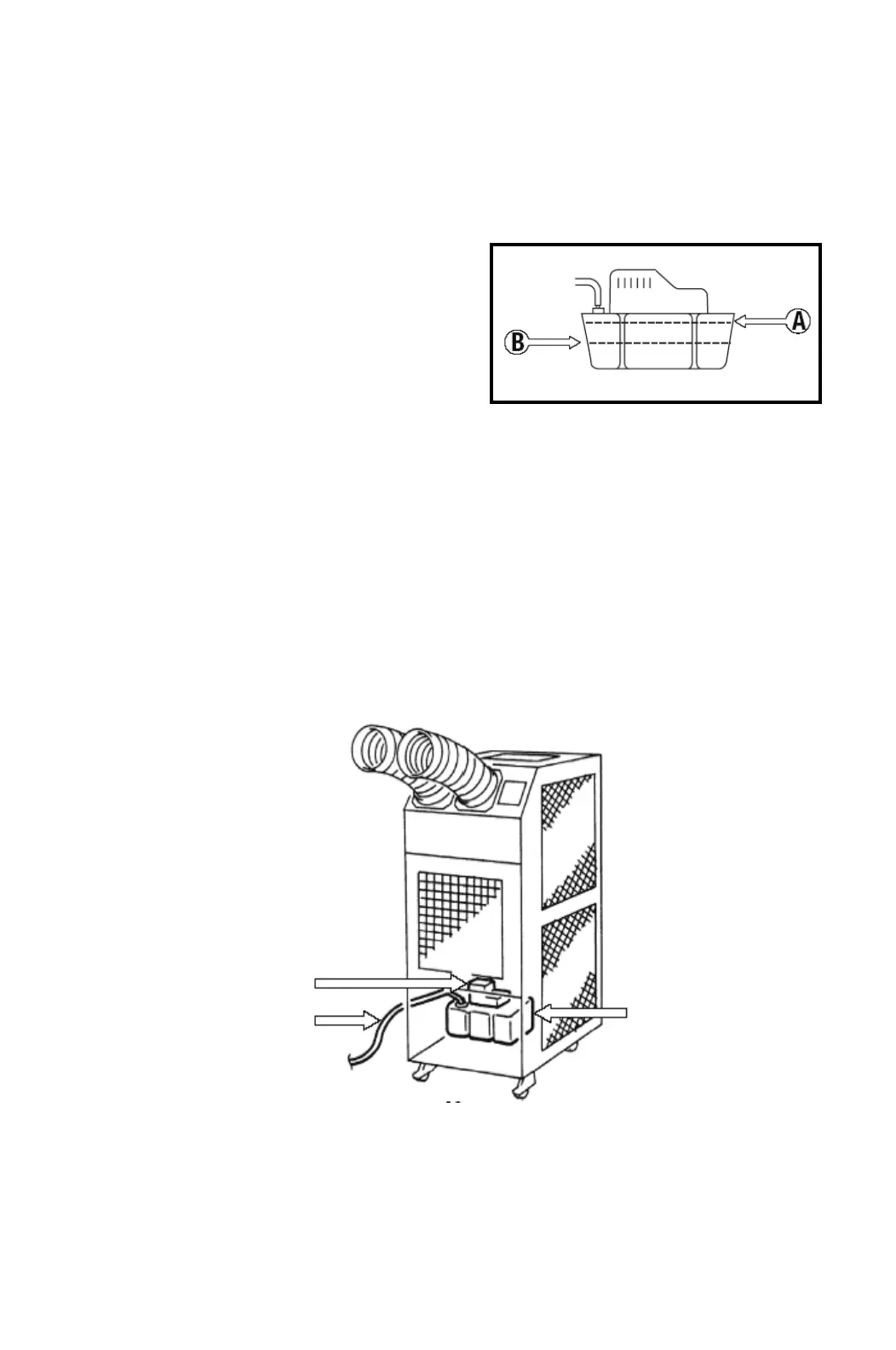
Condensate Pump Kit (Optional for Classic Plus 14)
A condensate pump kit is available to allow continuous operation and to eliminate
the need for a drain tank.
When the water collects to level (A) in the
pump reservoir, the condensate pump
begins to operate and discharge the water.
Note: The compressor does not operate while the condensate pump is
discharging the water.
When the water level drops below level (B), the condensate pump stops, and the
compressor restarts.
Note: If for any reason the water level exceeds that of level (A) in the pump
reservoir, an over flow drain switch stops the compressor operation, and the LCD
displays "AS".
Note: If the fan mode control DIP switch (see page 24) is set to the STOP position,
the entire unit (including fan operation) turns off either due to the over flow drain
switch or while the condensate pump is discharging the water.
CONDENSATE PUMP
DISCHARGE HOSE
CONDENSATE
PUMP
RESERVOIR

Other manuals for Movincool Classic Plus 14

Related product manuals