EasyManua.ls Logo

MTD 145-660A - 145-660 A 8 H.P. ENGINE; PARTS LIST FOR SCHEMATIC MODEL 145-660 A

MTD 145-660A
34 pages
Print Icon
To Next Page IconTo Next Page
To Next Page IconTo Next Page
To Previous Page IconTo Previous Page
To Previous Page IconTo Previous Page
Loading...
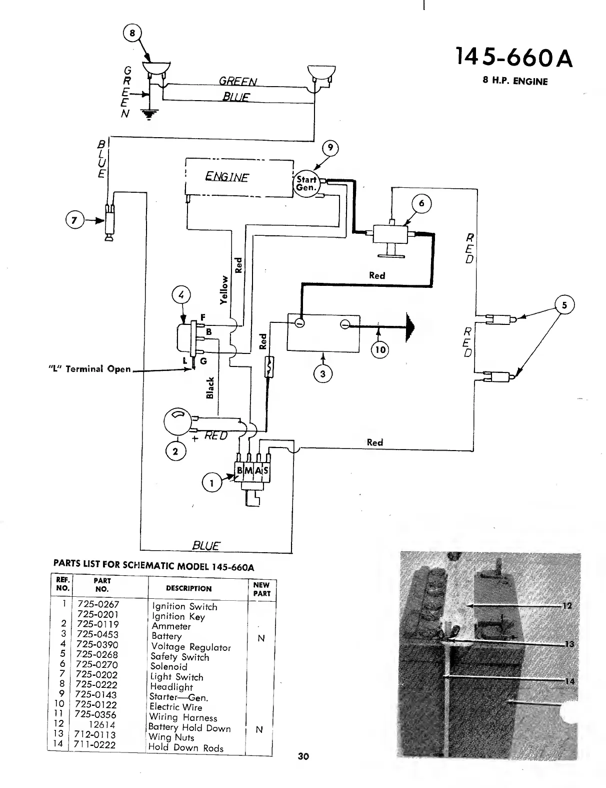
145-660A
8
H.P.
ENGINE
EMjINE
L"
TerminaB
Open.
_
BLUE
PARTS
LIST
FOR
SCHEMATIC
MODEL
145-660A
DESCRIPTION
Ignition
Switch
Ignition
Key
Ammeter
Battery
Voltage
Regulator
Safety
Switch
Solenoid
Light
Switch
Headlight
Starter—Gen.
Electric
Wire
Wiring
Harness
Battery
Hold
Down
Wing
Nuts
Hold
Down
Rods
REF.
PART
NO.
NO.
1
725-0267
725-0201
2
725-0119
3
725-0453
4
725-0390
5
725-0268
6
725-0270
7
725-0202
8
725-0222
9
725-0143
10
725-0122
11
725-0356
12
12614
13
14
L
712-0113
711-0222

Other manuals for MTD 145-660A

Related product manuals