EasyManua.ls Logo

NAD C516BEE - Page 17

NAD C516BEE
44 pages
Print Icon
To Next Page IconTo Next Page
To Next Page IconTo Next Page
To Previous Page IconTo Previous Page
To Previous Page IconTo Previous Page
Loading...
2-7
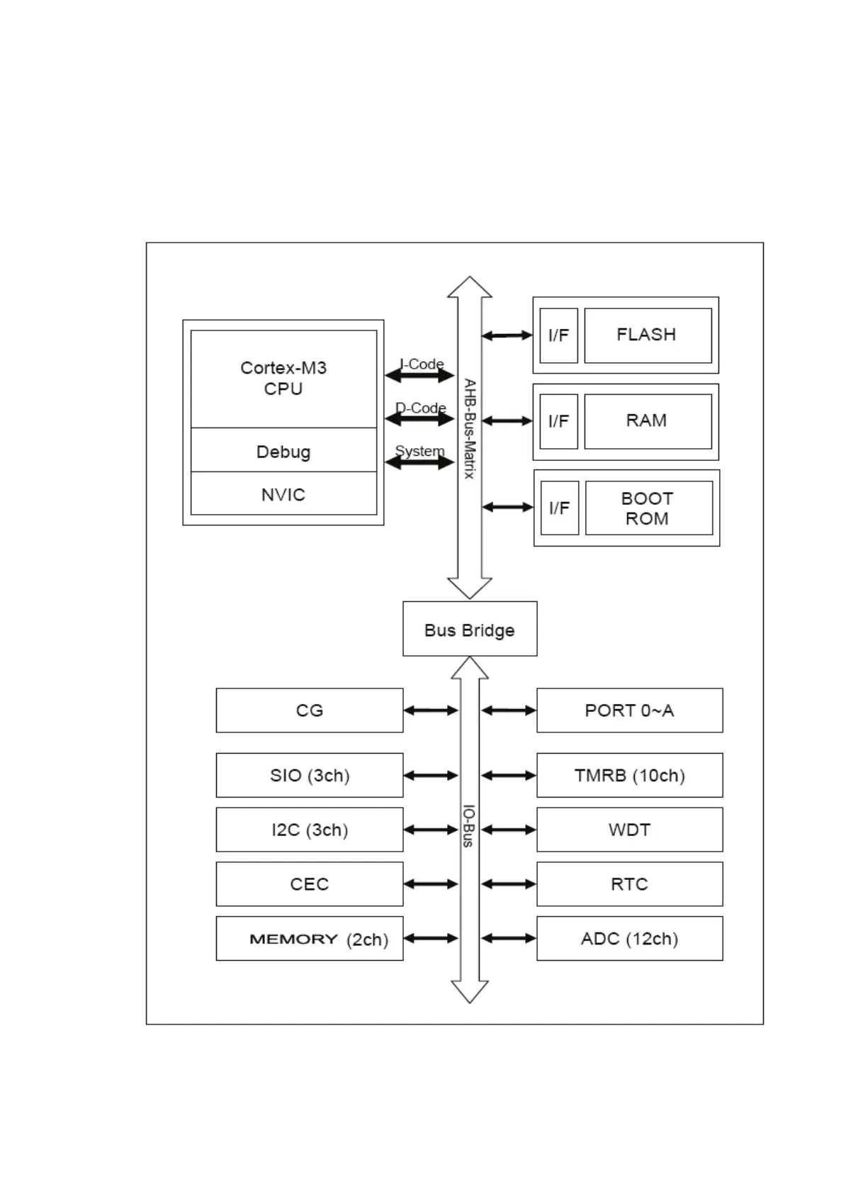
[BLOCKDIAGRAM AND PIN DESCRIPTION of ICs]
IC01 TMPM330FWFG (SYSTEM CONTROLLER)
IC BLOCK DIAGRAMS

Related product manuals