EasyManua.ls Logo

NAD C516BEE - Page 23

NAD C516BEE
44 pages
Print Icon
To Next Page IconTo Next Page
To Next Page IconTo Next Page
To Previous Page IconTo Previous Page
To Previous Page IconTo Previous Page
Loading...
2-13
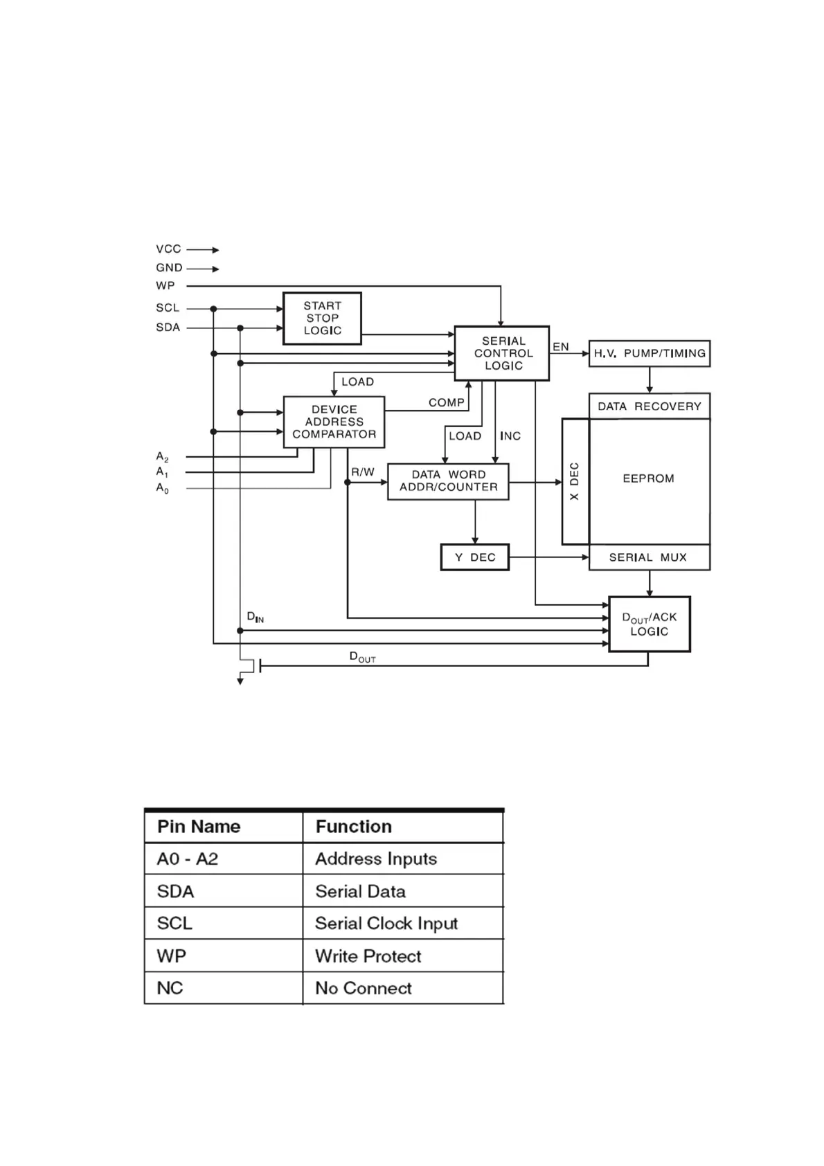
IC07 AT24C08N10SC EEPROM
IC BLOCK DIAGRAMS
IC PIN DESCRIPTION

Related product manuals