EasyManua.ls Logo

NAD L76 - Page 22

NAD L76
45 pages
Print Icon
To Next Page IconTo Next Page
To Next Page IconTo Next Page
To Previous Page IconTo Previous Page
To Previous Page IconTo Previous Page
Loading...
2-15
CMPDAT
SDATAN2
CMPCLK
SCLKN2
CMPREQ
LRCLKN2
SCLKN1
STCCLK2
LRCLKN1
SDATAN1
CLKIN
CLKSEL
FILTD FILTS VA AGND DGND(3:1) VD(3:1)
XMT95
AUDA
LRCLK
SCLK
MCLK
DC
DD
EXTMEM.
GPIO8
A800T
INTERQ
A1,
SCDIN
A0,
SCCLK
CS
STC
Parallel or Serial Host Interface
RESET
SCDIO,
SCDOUT,
PSEL,
GPIO9
WR,
DR,
EMWR,
GPIO10
RD,
R/W,
EMOE,
GPIO11
DATA7:0,
EMAD7:0,
GPIO7:0
Compressed
Data Input
Interface
RAM
Program
Memory
ROM
Program
Memory
RAM
Data
Memory
RAM
Output
Buffer
Output
Formatter
ROM
Data
Memory
PLL
Clock Manager
RAM Input
Buffer
24-Bit
DSP Processing
Digital
Audio
Input
Interface
Framer
Shifter
Input
Buffer
Controller
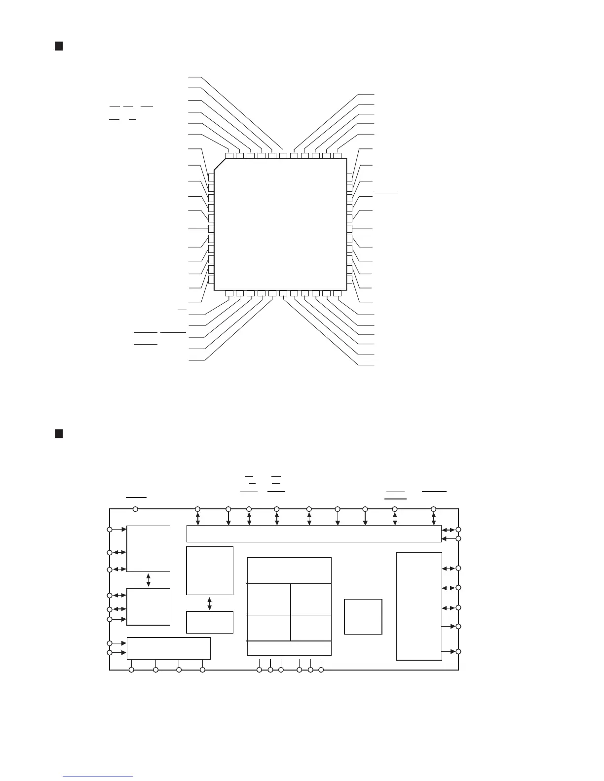
PIN ASSIGNMENT.(IC35: CS493264-CL)
BlOCK DIAGRAM(IC35: CS493264-CL)
VD1
DGND1
AUDATA3, XMT958
WR,DS,EMWR,GPIO10
RD,R/W,EMOE,GPIO11
A1,SCDIN
A0,SCCLK
DATA7,EMAD7,GPIO7
CS493XX-CL
44-pin PLCC
Top View
DATA6,EMAD6,GPIO6
DATA5,EMAD5,GPIO5
DATA4,EMAD4,GPIO4
DATA3,EMAD3,GPIO3
DATA2,EMAD2,GPIO2
DATA1,EMAD1,GPIO1
DATA0,EMAD0,GPIO0
VD2
DGND2
CS
SCDIO,SCDOUT,PSEL,GPIO9
ABOOT,INTREQ
EXTMEM,GPIO8
SDATAN1
MCLK
SCLK
LRCLK
AUDATA0
AUDATA1
AUDATA2
DC
7
8
9
10
11
12
13
14
15
16
17
18 19 20 21 22 23 24 25 26 27 28
6543214443 42 41 40
39
38
37
36
35
34
33
32
31
30
29
DD
RESET
AGND
FILT2
CLKSEL
CLKIN
CMPREQ,LRCLKN2
VA
FILT1
CMPDAT,SCLKN2,RCV958
CMPCLK,SCLKN2
LRCLKN1
VD3
SCLKN1,STCCLK2
DGND3

Other manuals for NAD L76

Related product manuals