EasyManua.ls Logo

NAD L76 - Page 26

NAD L76
45 pages
Print Icon
To Next Page IconTo Next Page
To Next Page IconTo Next Page
To Previous Page IconTo Previous Page
To Previous Page IconTo Previous Page
Loading...
2-19
LEVEL SHIFTER
2
1
2
3
4
1
5
6
2
8
4
1
2
3
4
6
8
4
1
3
4
5
6
7
8
9
10
14 28
11
12
13
27
26
25
24
23
22
21
20
19
18
17
16
15
LATCH CIRCUIT
SHIFT REGISTER
LEVEL SHIFTER
LATCH CIRCUIT
L-S R-S
Vss GND VDD
L-S
L-S
L-S
L-S
L-COM
L-S
L-COM
L-S
7
L-S
L-COM
ST
R-S
R-S
R-S
5
R-S
1
R-COM
R-S
2
R-COM
R-S
R-COM
DATA
CK
7
R-S
LEVEL SHIFTER
2
1
2
4
8
4
1
2
4
8
4
1
3
4
5
6
7
8
9
10
14 28
11
12
13
27
26
25
24
23
22
21
20
19
18
17
16
15
LATCH CIRCUIT
SHIFT REGISTER
LEVEL SHIFTER
LATCH CIRCUIT
L-S R-S
Vss GND VDD
L-S
1
L-COM
3
L-S
L-S
5
L-S
2
L-COM
6
L-S
L-S
7
L-S
L-COM
ST
R-S
1
R-COM
3
R-S
R-S
2
R-COM
5
R-S
6
R-S
R-S
R-COM
DATA
CK
7
R-S
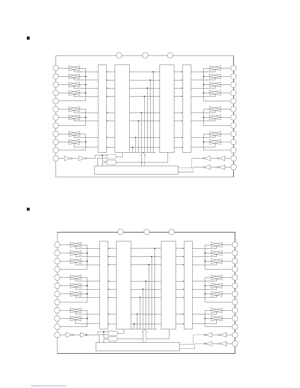
TC9164AF (FUNCTION /IC34)
BLOCK DIAGRAM
TC9163AF (FUNCTION /IC11)
BLOCK DIAGRAM

Other manuals for NAD L76

Related product manuals