EasyManua.ls Logo

NAD T 977 - Page 46

NAD T 977
66 pages
Print Icon
To Next Page IconTo Next Page
To Next Page IconTo Next Page
To Previous Page IconTo Previous Page
To Previous Page IconTo Previous Page
Loading...
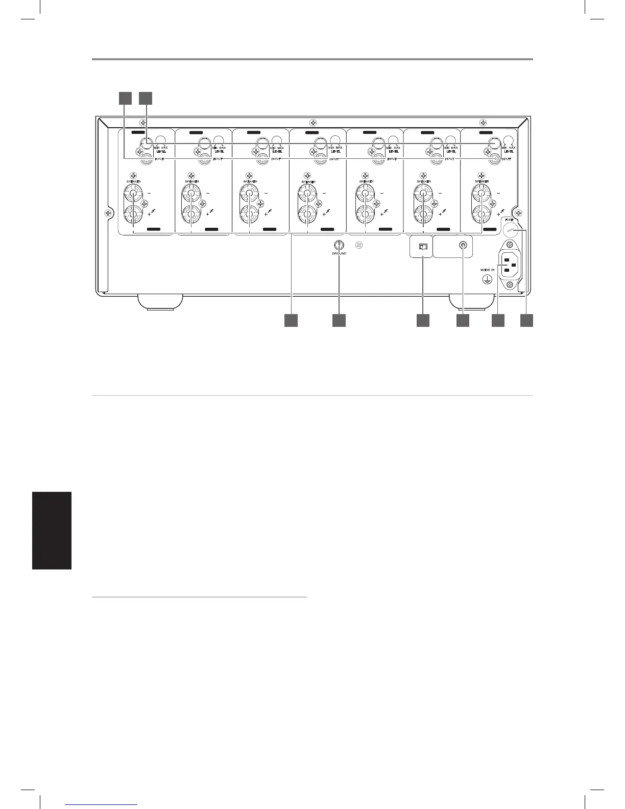
1 INPUT (INGANG)
· Elke van de zeven afzonderlijke versterkers in de T 977 beschikt over
zijn eigen ingangssignaalconnector.
· Sluit de uitgang van de voorversterker of van de processor aan op
deze ingangen.
Voor een optimale warmtespreiding in een AV-surround-systeem
worden de volgende toewijzingen van audiokanalen aanbevolen:
Kanaal 1 = Luidspreker Links Voor
Kanaal 2 = Luidspreker Surround Links
Kanaal 3 = Luidspreker Surround Links Achter
Kanaal 4 = Centerluidspreker
Kanaal 5 = Luidspreker Surround Rechts Achter
Kanaal 6 = Luidspreker Surround Rechts
Kanaal 7 = Luidspreker Rechts Voor
OPMERKINGEN
· Zet de T 977 en andere componenten in het systeem altijd UIT voordat u
een aansluiting tot stand brengt met de INPUT-aansluitingen (INGANG)
of de aansluiting verbreekt.
· Controleer, voordat u de T 977 voor de eerste keer inschakelt uit de stand
Stand-by, dat alle niveauregelingen van de ingangen staan ingesteld
op het minimumniveau (MIN). Zo voorkomt u dat u onbedoeld een
luistersessie begint op een veel te hoog volumeniveau.
2 INPUT LEVEL CONTROL (INGANGSNIVEAUREGELING)
· De T 977 is uitgerust met afzonderlijke bedieningselementen om
het ingangsniveau van elk kanaal te regelen.
· Controleer, voordat u de T 977 voor de eerste keer inschakelt uit de
stand Stand-by, dat alle niveauregelingen van de ingangen staan
ingesteld op het minimumniveau (MIN).
Geluidssterkten op elkaar in te stellen
In een surround-sound of een installatie die is uitgerust met meer
dan één stel luidsprekers, kunnen de geluidssterkten verschillen door
verschillen in eciëntie tussen deze luidsprekers. Indien de kanalen van
uw voorversterker of processor individueel kunnen worden ingesteld,
stel deze dan in op neutraal of op het midden (normaal aangeduid als
0dB). Stel de INGANGSNIVEAUREGELING zo af dat de luidsprekers die
door de T 977 worden aangestuurd, te oordelen vanaf uw luisterpositie,
het juiste volumeniveau hebben vergeleken bij de andere luidsprekers.
Vergroot geluidssterktebereik
Op vele installaties wordt de spanning zoveel versterkt dat de
luidsprekers (of uw gehoor) overdadig worden belast wanneer de
geluidssterkte hoger wordt ingesteld dan de 11 uur- of 12 uur-stand. Dit
heeft als gevolg dat u gedwongen bent slechts het onderstegedeelte
van het geluidssterktebereik te gebruiken, datonnauwkeurige
instellingen biedt en waar er zich vaak groterefouten in
kanaalevenwicht voordoen.
Indien u de ingangsgeluidssterkte vermindert, kan u de geluidssterkte
van uw voorversterker of van uw processor hoger instellen, waardoor
u een doeltreender gebruik maakt van zijn bereik. (Suggestie : Stel
de ingangsgeluidssterkte zo in dat uw instelknop zich op uw verkozen
maximum geluidssterkte, d.w.z. ongeveer op een stand van 2 of 3 uur,
is ingesteld). Dit biedt bovendien het voordeel dat deze procedure al
het geluid van de hogere-geluidssterkte-circuits van de voorversterker
onderdrukt (bijv. zoemend of uitend geluid dat niet verdwijnt wanneer
u de geluidssterkte lager instelt).
BEDIENINGSELEMENTEN
ACHTERPANEEL
ATTENTIE!
Controleer voordat u aansluitingen tot stand brengt, dat de stekker van de T 977 uit het stopcontact is. Tevens wordt aangeraden alle bijbehorende
componenten uit te schakelen of van het lichtnet te ontkoppelen tijdens het aansluiten of ontkoppelen van signaal- of wisselstroomaansluitingen.
© NAD T 977
FUSE
MAINS IN
SPEAKER
SPEAKER
SPEAKER
SPEAKER
SPEAKER
SPEAKER
SPEAKER
INPUT
+12V TRIGGER IN
ON OFF
C HA NNE L 7
FR O NT R
C HA NNE L 6
C HA NNE L 5
C HA NNE L 4
C HA NNE L 3
C HA NNE L 2
SU R R R
SU R R -B R
CE NT E R
SU R R -B L
SU R R L
C HA NNE L 1
FR O NT L
FRONT R
SURR R
SURR-B R
CENTER
SURR-B L
SURR L
CHANNEL 1
FRONT L
LEVEL
LEVEL
LEVEL
LEVEL
LEVEL
LEVEL
LEVEL
MAX
MIN
MAX
MIN
MAX
MIN
MAX
MIN
MAX
MIN
MAX
MIN
MAX
MIN
CHANNEL 7
CHANNEL 6
CHANNEL 5
CHANNEL 4
CHANNEL 3
CHANNEL 2
INPUT
INPUT
INPUT
INPUT
INPUT
INPUT
SOFT
CLIPPING
1 2
83 4 5 6 7
6
ENGLISH FRANÇAIS ESPAÑOL ITALIANO DEUTSCH NEDERLANDS SVENSKA РУССКИЙ
T977_dut_OM_v01.indd 6 17/04/2012 9:28am

Table of Contents

Other manuals for NAD T 977

Related product manuals