EasyManua.ls Logo

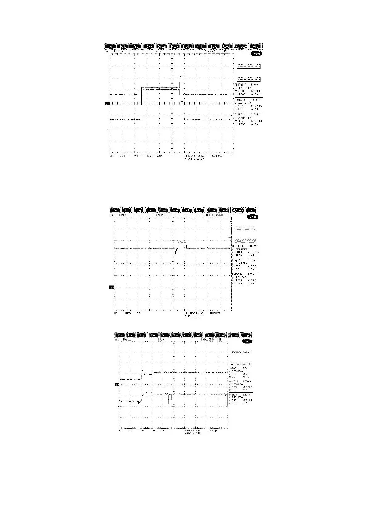
NAD T585 - SLED Control Related Signal(no Disc Control)

NAD T585
73 pages
Print Icon
To Next Page IconTo Next Page
To Next Page IconTo Next Page
To Previous Page IconTo Previous Page
To Previous Page IconTo Previous Page
Loading...
CH1 EJ-
CH2 EJ+
FIG 3-2
4. SLED CONTROL RELATED SIGNAL(NO DISC CONDITION)
SLED CONTROL
FIG 4-1
CH1 SL+
CH2 SL-
FIG 4-2
3-13

Other manuals for NAD T585

Related product manuals