EasyManua.ls Logo

Nexo GEO M1210

Default Icon
90 pages
To Next Page IconTo Next Page
To Next Page IconTo Next Page
To Previous Page IconTo Previous Page
To Previous Page IconTo Previous Page
Loading...
TECHNICAL SPECIFICATIONS Page 75/90
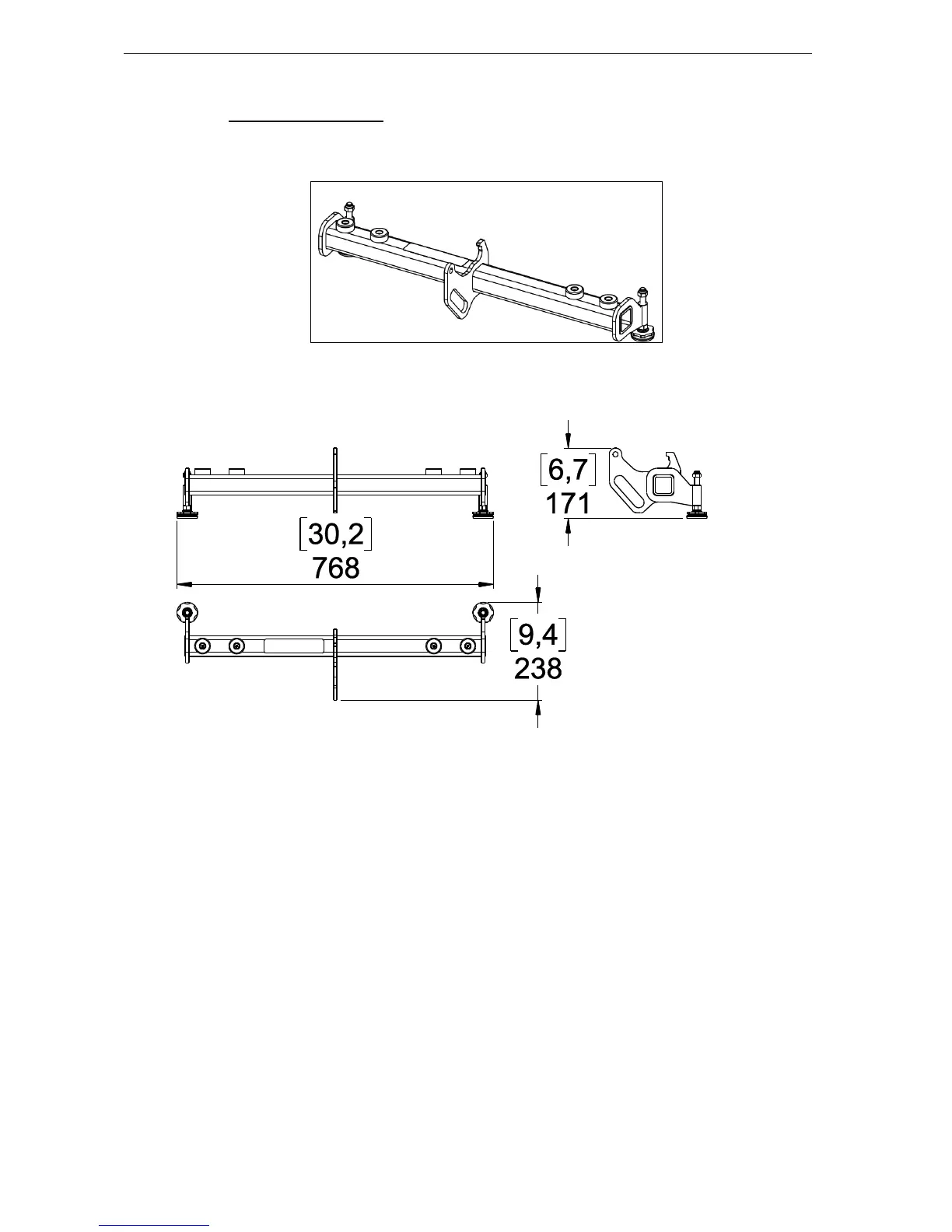
8.3.6 VNT-GSTKM10M12S
Parts
X1
Dimensions
Weight: 7 kg / 15.4 lb

Table of Contents

Other manuals for Nexo GEO M1210

Related product manuals