EasyManua.ls Logo

Nidec Commander C200 - Page 52

Nidec Commander C200
124 pages
Print Icon
To Next Page IconTo Next Page
To Next Page IconTo Next Page
To Previous Page IconTo Previous Page
To Previous Page IconTo Previous Page
Loading...
52 Unidrive M / HS Frame 7 to 10 Power Installation Guide
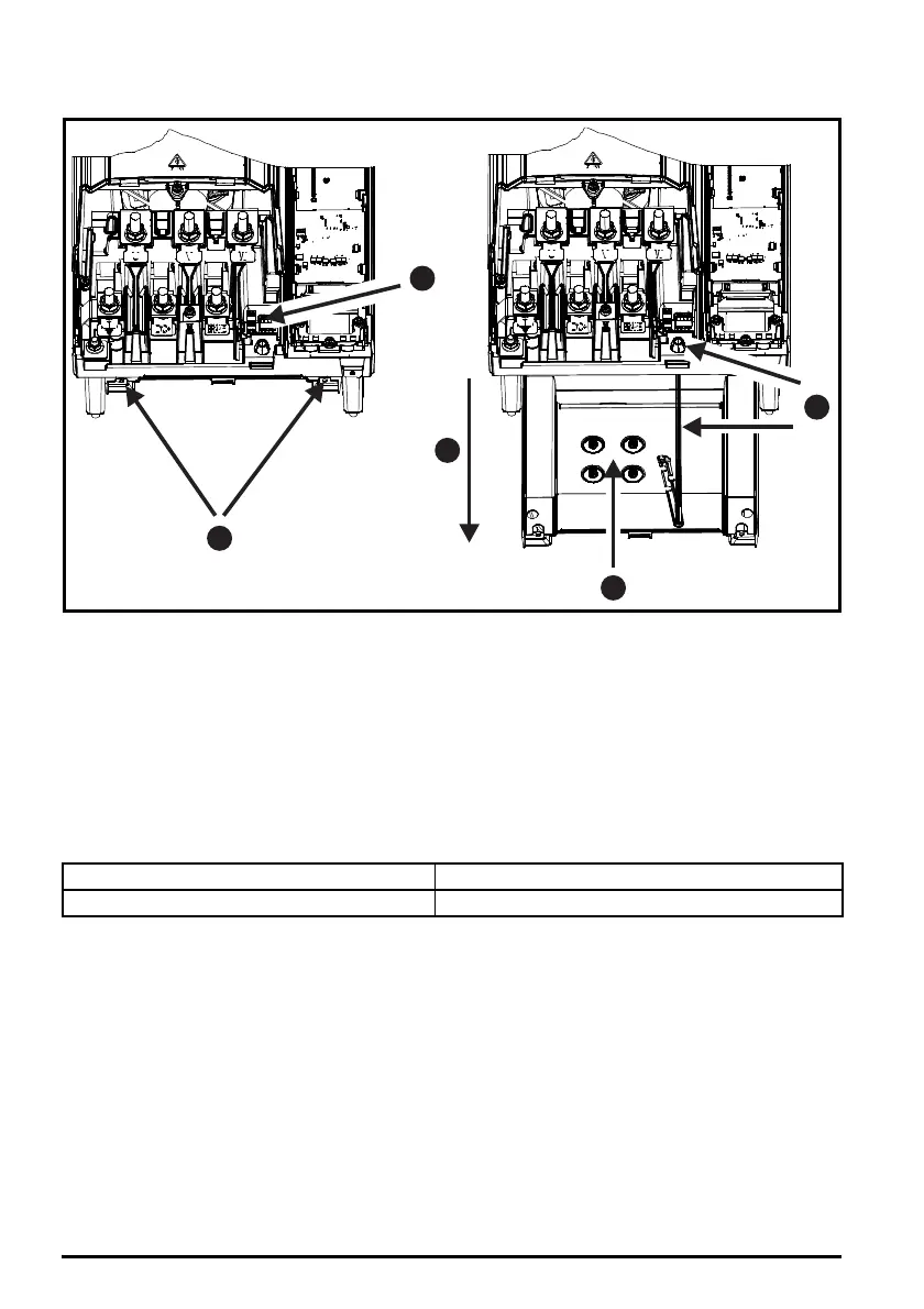
3.11.3 Size 9 and 10 heatsink fan replacement
Figure 3-23 Size 9 and 10 heatsink fan replacement
Heatsink fan removal procedure
1) Using a flat screwdriver remove the fan wires from the fan connector (making a note of the order).
2) Using a T20 Torque driver remove the two screws that retain the heatsink fan housing
3) Withdraw the heatsink fan housing from the drive in the direction shown
4) Pull the fan cable through the fan cable gland
5) Using a T20 Torque driver remove the four screws that retain the fan in the housing
After fan has been replaced, reverse the above steps to refit.
Table 3-20 Size 9 and 10 heatsink fan part number
Drive model Heatsink fan part number
Size 9 and 10 3251-1750
2
1
3
4
5

Other manuals for Nidec Commander C200

Related product manuals