EasyManua.ls Logo

Nitto Seiko FF503H - Setup and Adjustment Procedures; Before Setup; Outline of Operation in Setup and Adjustment Mode

Nitto Seiko FF503H
61 pages
Print Icon
To Next Page IconTo Next Page
To Next Page IconTo Next Page
To Previous Page IconTo Previous Page
To Previous Page IconTo Previous Page
Loading...
Vibratory Track Screw Feeder FF/FM503H ver2
23
8.2. Setup and adjustment procedures
8.2.1. Before setup
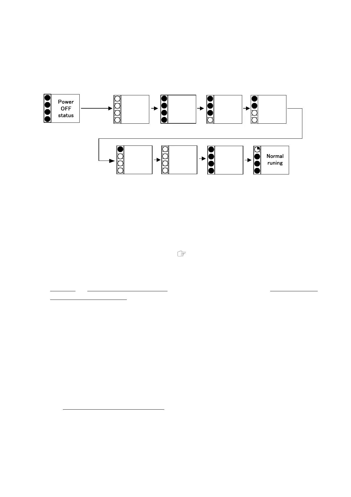
When power is supplied, the POWER LED (Green) on the setup panel is lit up. Then, statuses of the LEDs
from LED1 (=1
FREQ.) to LED4 (=4
RUN) are changed as shown below. Ensure that the normal running
indication status is restored.
When the machine starts normal running, components of FF/FM503H start operation.
Make sure that the normal running indication status is restored, and then, carry out setup and adjustment.
Ensure that all the LEDs are lit up in the LED check 4 status. If any LED is faulty, correct indication during
setup or adjustment work is disabled.
8.2.2. Outline of operation in setup and adjustment mode
For details of the setup and adjustment mode, refer to “8.2.3 FF/FM503H Setup and adjustment mode
function list”.
Outline of operation is as shown below.
1) Entering setup and adjustment mode
When the “
” key is pressed for three seconds during normal running indication status, the machine enters
the setup and adjustment mode.
(The “LED1” flashes, and any intended vibrator vibration frequency setup item can be selected.)
2) Operations in setup and adjustment mode
(1) It is possible to move to and fro in arrow directions freely inside the table. First, move between setup
and adjustment items using “
” “
” keys. Confirm a selected item for setup and adjustment using
” key. If you selected an item that has only one arrow symbol by mistake and if you wish to move
back to a previous item, exit the setup and adjustment mode before starting item selection again.
(2) After confirming that an intended setup and adjustment item has been selected, increase and decrease
the setting value using “
” and “
” keys. Confirm the setting value using “
” key, and then return
to the item selection status in arrow direction.
3) Exiting setup and adjustment mode
Performing either of the following makes the normal running indication appear again.
(1) Turning OFF the power and then turning it ON again
(2) Operating no key for 60 seconds or more
1
2
3
4
2
3
4
1 1
2
3
4
3
4
1
2
All LEDs lit up
1
2
3
4
1
2
3
4
3
4
1
2
3
1
2
4
1
2
3
4
All LEDs
lit up
All LEDs
unlit
All LEDs
unlit
LED
check1
LED
check2
LED
check3
LED
check4
All LEDs unlit LED1 lit up LED1&2 lit up
LED1&2&3 lit up
All LEDs unlit
All LEDs unlit
LED4 flashing

Table of Contents