EasyManua.ls Logo

Nokia RM-839 - Internal handsfree (IHF) troubleshooting

Nokia RM-839
99 pages
Print Icon
To Next Page IconTo Next Page
To Next Page IconTo Next Page
To Previous Page IconTo Previous Page
To Previous Page IconTo Previous Page
Loading...
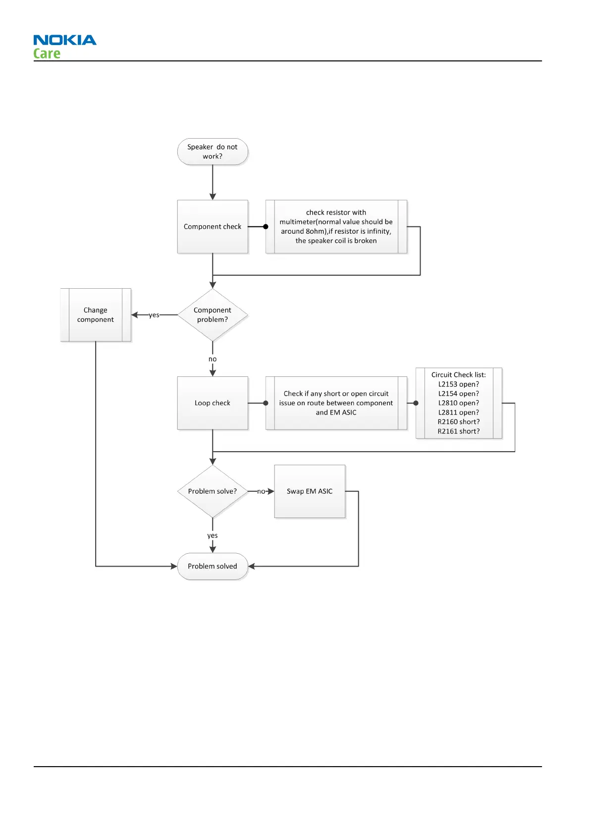
Internal handsfree (IHF) troubleshooting
Troubleshooting flow
RM-839; RM-840; RM-841
BB Troubleshooting and Manual Tuning Guide
Page 3 – 34 NOKIA INTERNAL USE ONLY Issue 1
Copyright © 2013 Nokia. All rights reserved.

Table of Contents

Related product manuals