EasyManua.ls Logo

Nordyne JT5BD Series - Grounding; Thermostat Connections

Nordyne JT5BD Series
24 pages
Print Icon
To Next Page IconTo Next Page
To Next Page IconTo Next Page
To Previous Page IconTo Previous Page
To Previous Page IconTo Previous Page
Loading...
8
protection must be in compliance with information listed
on the outdoor unit data label. Any other wiring methods
must be acceptable to authority having jurisdiction.
The outdoor unit requires both power and control circuit
electrical connections. Refer to the wiring diagram /
schematic for identifi cation and location of outdoor unit
eld wiring interfaces Figure 13 (page 23). Make all
electrical connections in accordance with all applicable
codes and ordinances.
Overcurrent protection must be provided at the branch
circuit distribution panel and sized as shown on the unit
rating label and according to applicable local codes.
See the unit rating plate for minimum circuit ampacity
and maximum overcurrent protection limits.
Provide power supply for the unit in accordance with the
unit wiring diagram, and the unit rating plate. Connect
the line-voltage leads to the terminals on the contactor
inside the control compartment.
Use only copper wire for the line voltage power supply
to this unit as listed in Table 1. Use proper code agency
listed conduit and a conduit connector for connecting
the supply wires to the unit. Use of rain tight conduit
is recommended.
208/230 Volt units are shipped from the factory wired
for 230 volt operation. For 208V operation, remove the
lead from the transformer terminal marked 240V and
connect it to the terminal marked 208V.
Optional equipment requiring connection to the power
or control circuits must be wired in strict accordance
of the NEC (ANSI/NFPA 70), applicable local codes,
and the instructions provided with the equipment.
Grounding
WARNING:
The unit cabinet must have an uninterrupted or
unbroken electrical ground to minimize personal
injury if an electrical fault should occur. Do not
use gas piping as an electrical ground
!
This unit must be electrically grounded in accordance
with local codes or, in the absence of local codes, with
the National Electrical Code (ANSI/NFPA 70) or the CSA
C22.1 Electrical Code. Use the grounding lug provided in
the control box for grounding the unit.
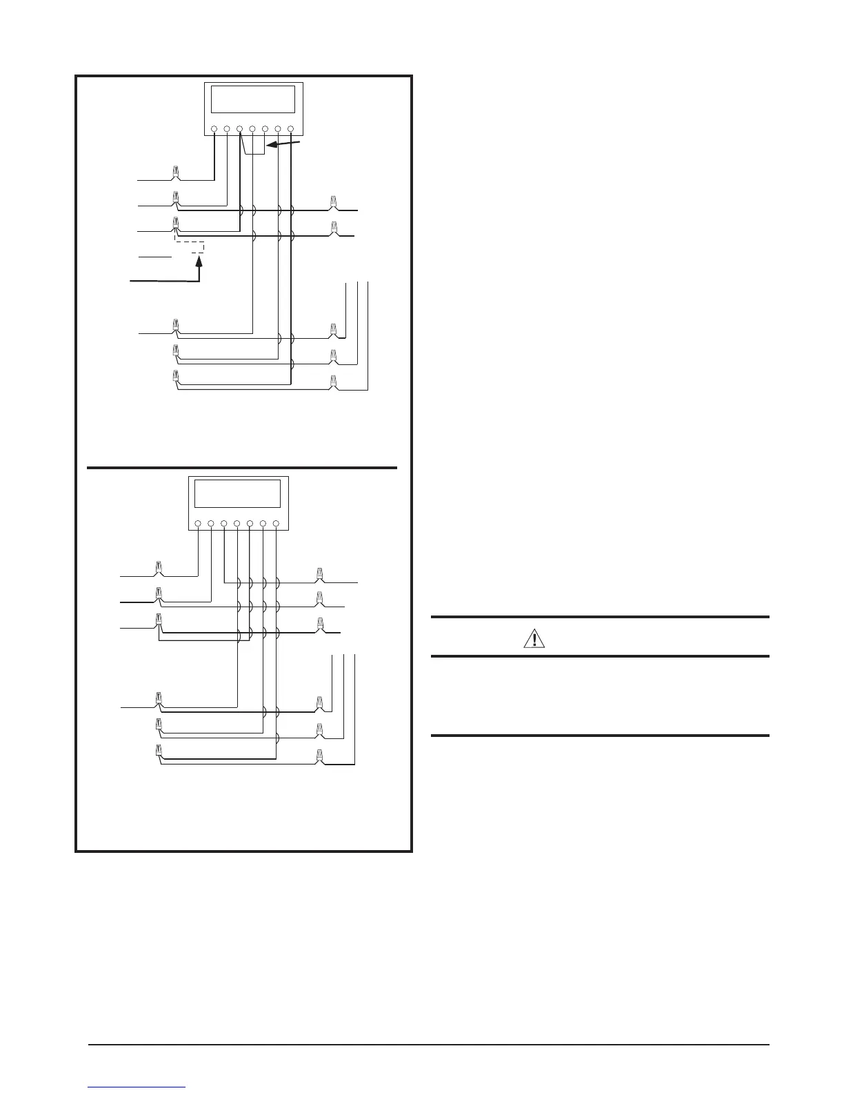
Thermostat Connections
Thermostat connections should be made in accordance
with the instructions supplied with the thermostat and
the indoor equipment.
The outdoor unit is designed to operate from a 24 VAC
Class II control circuit. The control circuit wiring must
comply with the current provisions of the NEC (ANSI/
NFPA 70) and with applicable local codes having
jurisdiction.
The low voltage wires must be properly connected
to the units low voltage terminal block (Figure 4).
GRW
2
CEOY
Thermostat
Green
Red
Brown
G
R
W
2
Orange
Black
OY
R
C
Air Handler Heat Pump OD
Section
Typical Heat Pump with Standard Air Handler
W
2
C
W
NOTE: Jumper
between W2 and E is
required when no OD
T-Stat is used.
For 2-Stage
Heater
Kits
GRW
2
CEOY
Thermostat
Green
Red
White
G
R
Black
O Y
R
C
Air Handler Heat Pump OD
Section
Typical Heat Pump with
Outdoor Thermostat and Air Handler
W
2
C
W
E
Figure 4. Typical Thermostat Connections

Related product manuals