EasyManua.ls Logo

Noritz NCC199CDV - Troubleshooting Common Issues; Error Code Diagnosis and Resolution

Noritz NCC199CDV
36 pages
Print Icon
To Next Page IconTo Next Page
To Next Page IconTo Next Page
To Previous Page IconTo Previous Page
To Previous Page IconTo Previous Page
Loading...
32
Troubleshooting
Checking for Error Conditions
Contact Noritz America if:
• Any other error code appears.
An error code is indicated again after the above
actions were followed.
• There are any other questions.
When a failure occurs, information relating to the
error blinks on the display.
The error alarm may also continuously sound.
If this occurs, take appropriate measures as
following list.
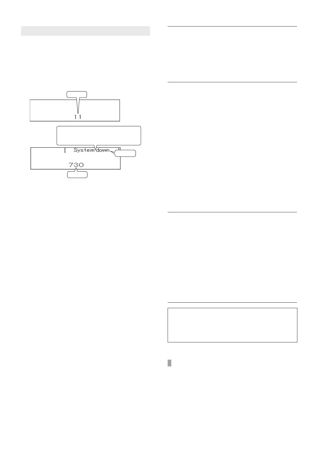
[Error Code Display Screen]
Error Code : 11
Cause : Ignition failure
Action : Check whether the gas valve is open.
Press the Power button to turn the Water
Heater off, open a hot water fixture/faucet,
and turn the Water Heater back on. If
the flashing number doesn’t return the
problem is solved.
Error Code : 90
Cause : [When supplying combustion air from the
indoors]
The air supply vent may be clogged.
Action : Check air supply vent for blockage or
obstruction. (See page 28)
Cause : Exhaust vent may be clogged.
Action : Check exhaust vent for blockage or
obstruction.
Cause : Abnormal combustion, low gas supply
pressure.
Action : Have a professional check the gas supply
pressure.
Cause : Condensate drain line may be clogged.
Action : Check condensate drain line is clogged or
frozen. If the display continues, contact
nearest Noritz agent.
Error Code : C1# (# = 1-9)
Cause : Service Reminder (Notice for periodic
maintenance)
Action : This Water Heater is equipped with an
automatic service reminder.
Excessive scale build-up may cause
premature failure of the heat exchanger.
Excessive dust or lint build-up in the fan
and air intake may affect efficiency and
combustion performance.
Contact Noritz America for additional
information about recommended
maintenance procedures (1-866-766-
7489).
Blinking
Blinking
The display may indicate the type of
failure that has occurred depending
on the system configuration.
Blinking
Stop the Error Alarm
Press the ALARM OFF button (the indicator will turn
off).

Other manuals for Noritz NCC199CDV

Related product manuals