EasyManua.ls Logo

NORPOLE NPPAC8KW - Exhaust Hose Installation

NORPOLE NPPAC8KW
39 pages
Print Icon
To Next Page IconTo Next Page
To Next Page IconTo Next Page
To Previous Page IconTo Previous Page
To Previous Page IconTo Previous Page
Loading...
13
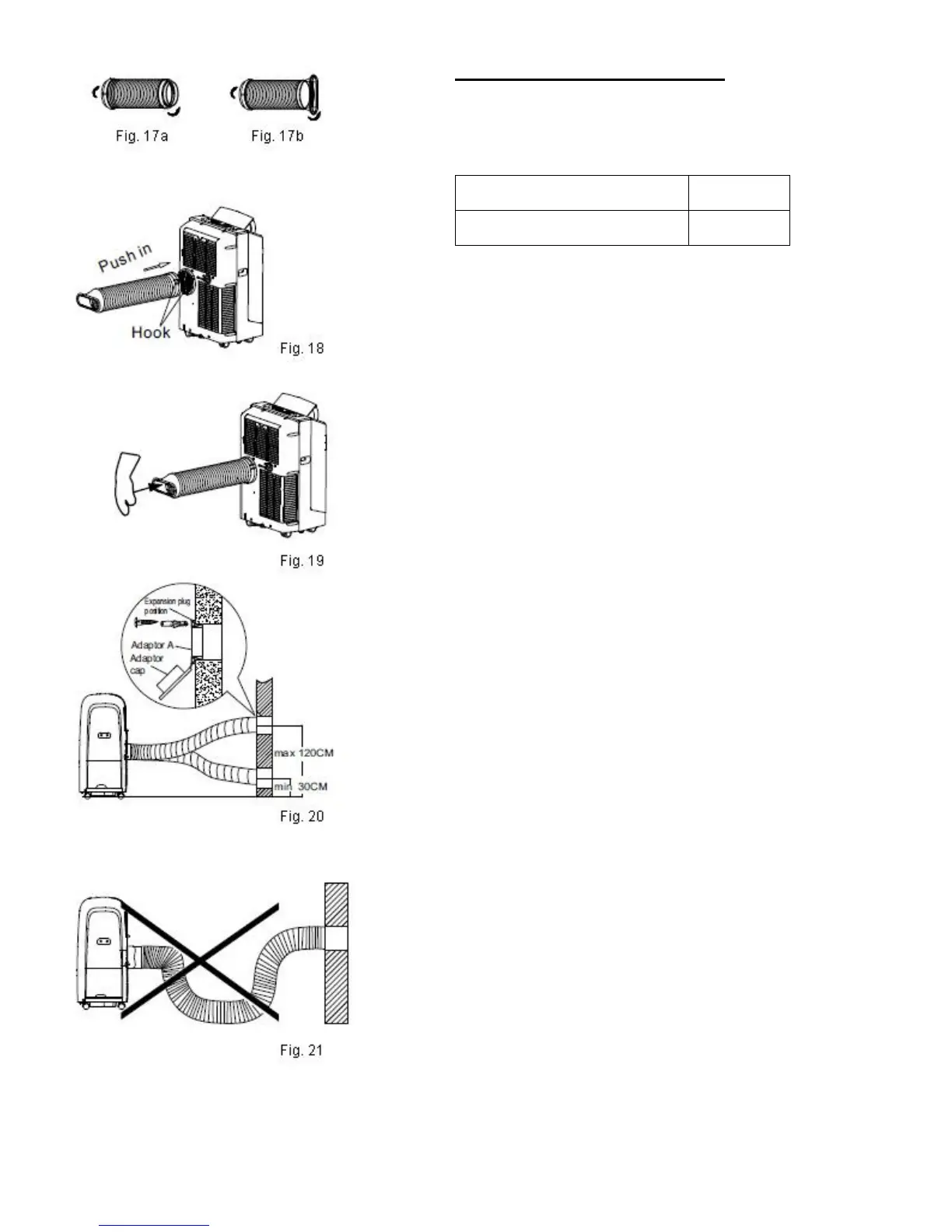
Exhaust hose installation:
The exhaust hose and adaptor must be installed or
removed in accordance with the usage mode.
COOL mode
Install
FAN or DEHUMIDIFY mode
Remove
1) Install the window Exhaust Adaptor B onto the
exhaust hose as shown in Fig. 17a or Fig. 17b. Refer
to the previous pages for window kit installation.
2) Place the exhaust hose over the air outlet opening
(See Fig. 18). Push in to form a tight fit. Flatten the
other end for quick installation (See Fig. 19).
The exhaust hose can be installed into the wall
(Not applicable for units without Exhaust Adaptor A,
expansion plugs and wooden screws from Accessories)
1) Prepare a hole in the wall. Install the wall Exhaust
Adaptor A on the wall (outside) by using the four (4)
expansion plugs and wooden screws. Be sure to affix
thoroughly (See Fig. 20).
2) Attach the exhaust hose to wall Exhaust Adaptor A.
NOTE: Cover the hole using the adaptor cap when not
in use.
The duct can be compressed or extended moderately
according to the installation requirements. However, it is
recommended to keep the duct length to a minimum.
IMPORTANT:
DO NOT OVER BEND THE DUCT (See Fig. 21)

Related product manuals