EasyManua.ls Logo

NORPOLE NPPAC8KW - Instalación de Manguera de Alivio

NORPOLE NPPAC8KW
39 pages
Print Icon
To Next Page IconTo Next Page
To Next Page IconTo Next Page
To Previous Page IconTo Previous Page
To Previous Page IconTo Previous Page
Loading...
34
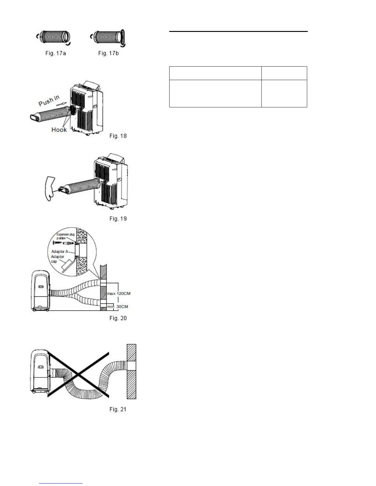
Instalación de Manguera de Alivio
La manguera de alivio y el adaptador deben instalarse o
desmontarse según el modo de uso.
Modo COOL (enfriamiento)
Instalar
Modo FAN o DEHUMIDIFY
(Ventilador o
deshumidificar)
Desmontar
1. Instale el adaptador B de alivio de la ventana en la
manguera de alivio como se muestra en la Fig. 17a o la
Fig. 17b. Consulte las páginas anteriores para la
instalación en ventana.
2. Coloque la manguera de alivio sobre el gancho de la
abertura de la salida de aire (Ver Fig. 18) y aplaste el otro
extremo (Ver Fig. 19) para una instalación rápida.
La manguera de alivio se puede instalar en la pared
(No aplica en unidades que no cuenten con el adaptador A,
taquetes expansores y tornillos para madera como accesorios)
1. Haga un orificio en la pared. Instale en la pared el
adaptador A de alivio para pared (exterior) usando los 4
taquetes. expansores y los tornillos para madera,
compruebe que se fijen completamente. (Vea la Fig. 20).
2. Coloque la manguera de alivio en el adaptador A de alivio
para pared.
Nota: Cubra el orificio con el tapón del adaptador
cuando no esté en uso.
El conducto se puede comprimir o extender un poco de
acuerdo a las necesidades de la instalación, pero lo mejor es
mantener al mínimo la extensión del conducto.
IMPORTANTE: NO DOBLE EN EXCESO EL CONDUCTO
(VER Fig. 21)

Related product manuals