EasyManua.ls Logo

Novatech Bitronics M87X Series - Power Supply V10; Introduction; Features; Specifications

Novatech Bitronics M87X Series
184 pages
Print Icon
To Next Page IconTo Next Page
To Next Page IconTo Next Page
To Previous Page IconTo Previous Page
To Previous Page IconTo Previous Page
Loading...
ML0021 August 15, 2018
83 Copyright 2018 Bitronics, LLC
6.0 POWER SUPPLY V10
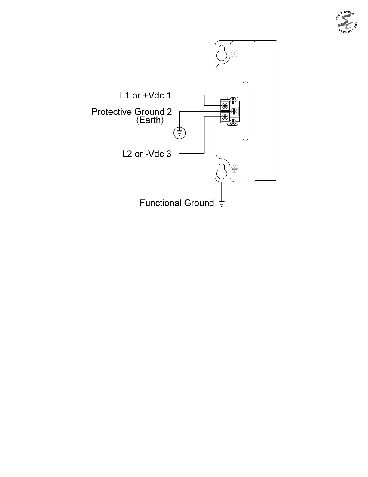
Figure 8 - Power Supply Connections
6.1 Introduction
The V10 power supply can operate from any voltage between 20-300Vdc or 55-275Vac
(45-65Hz). It is therefore possible to power the M87x with AC or DC station power or an
auxiliary VT, provided the voltage remains above 55Vac or 20Vdc. The power supply
creates 3.3V, 5V, and +/-12Vdc outputs and consists of an isolated flyback converter that
provides at least 12.5W of output power at 3.3Vdc and/or 5Vdc.
6.2 Features
25W minimum output power from the combined 5V and 3.3V supplies.
+/-12Vdc capable of delivering up to 500mA.
Standard cPCI power connector.
Removable terminal block accepts bare wire or terminal lugs.
5Vdc and 3.3Vdc power indicator LEDs.
6.3 Specifications
Input (Auxiliary) Voltage
Nominal: 24-250Vdc, 69-240Vac (50/60Hz)
Operating Range: 20-300Vdc, 55-275Vac (45-65Hz)
Output Voltage: 3.3Vdc, 5Vdc, and +/-12Vdc

Table of Contents

Related product manuals