EasyManua.ls Logo

NTI Trinity Lx 150 - Page 29

NTI Trinity Lx 150
84 pages
Print Icon
To Next Page IconTo Next Page
To Next Page IconTo Next Page
To Previous Page IconTo Previous Page
To Previous Page IconTo Previous Page
Loading...
Lx Series Installation and Operation Instructions Trinity Lx
29
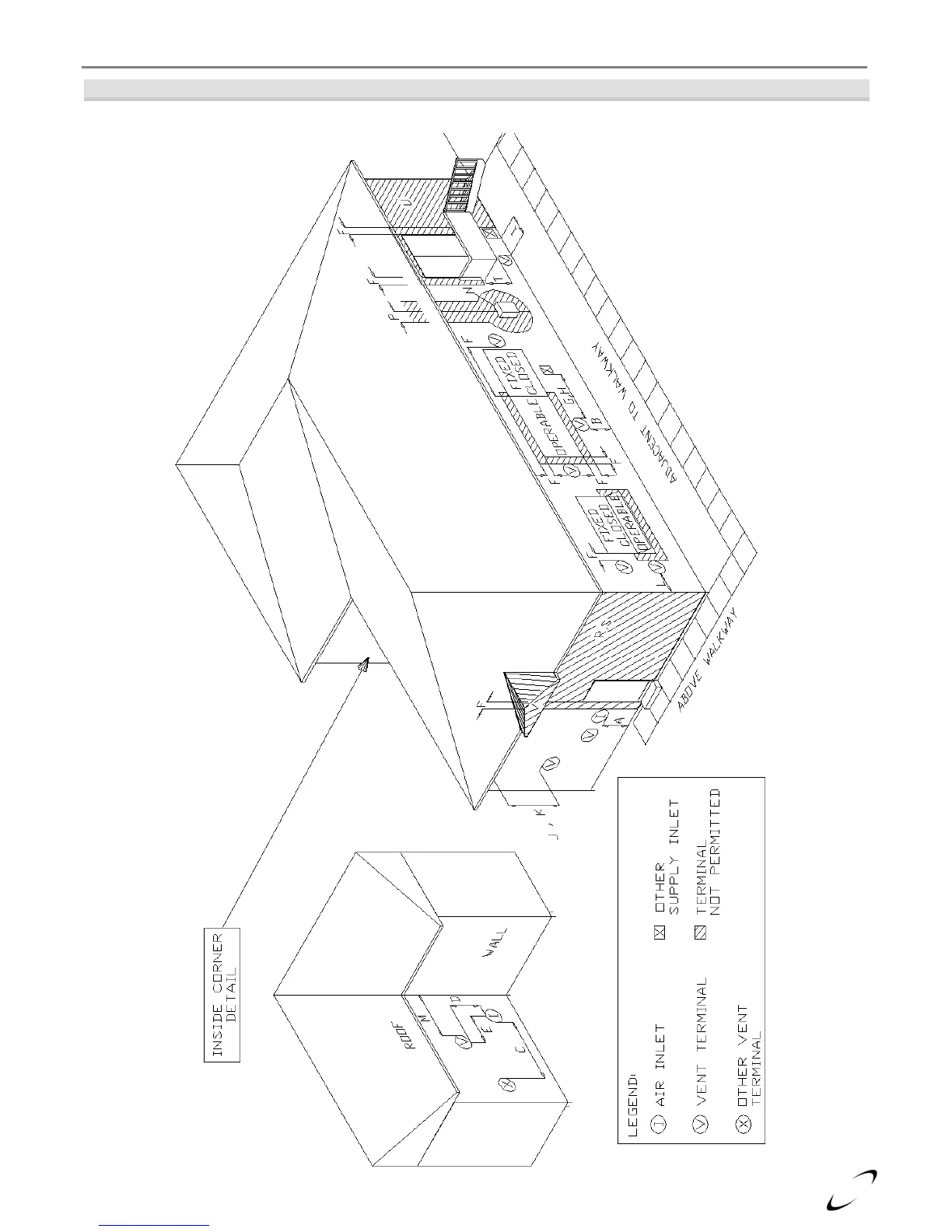
Figure 5-1 All Models
Termination Clearances Quick Reference Diagram

Related product manuals