EasyManua.ls Logo

Ocean Optics USB2000 Plus - External Synchronization Trigger

Ocean Optics USB2000 Plus
32 pages
Print Icon
To Next Page IconTo Next Page
To Next Page IconTo Next Page
To Previous Page IconTo Previous Page
To Previous Page IconTo Previous Page
Loading...
B: External Triggering
18 270-00000-000-02-0108
Timing Diagram for Variable Delay Mode
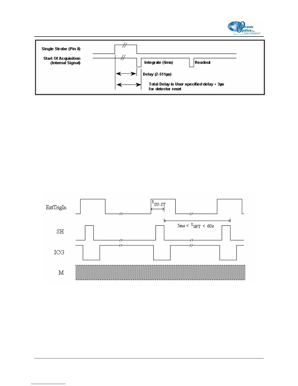
External Synchronization Trigger
In this mode of the USB2000+, the integration clock is essentially input into the spectrometer. The
synchronized trigger must have a frequency range of 5ms to 60s (shutter mode cannot be used in External
Synchronization Trigger mode). If no External Trigger Input Signal is applied, the spectrometer will not
take any spectra, and the software will appear “frozen” until an External Trigger Input Signal is detected.
With a continuous ExtTrigIn, the spectrometer will provide the required signals to the CCD as shown
below:
External Synchronization Trigger
The time between when ExtTrigIn goes HIGH and the beginning of the integration period is specified to
be between 8µs<t
SU_ST
<10µs.
The ExtTrigIn signal does not need to have an even duty cycle, but the time
between rising edges should remain constant for a given integration time.

Table of Contents

Related product manuals