EasyManua.ls Logo

Oliver 797-32C - Page 43

Oliver 797-32C
52 pages
Print Icon
To Next Page IconTo Next Page
To Next Page IconTo Next Page
To Previous Page IconTo Previous Page
To Previous Page IconTo Previous Page
Loading...
797 Series of Slicers
0797S20079 17-1
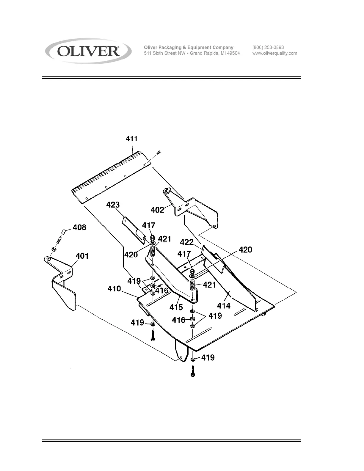
CURVED OUTFEED ASSEMBLY

Related product manuals