EasyManua.ls Logo

Olympus OEP-3 - Location and Function of Parts and Controls; Rear

Olympus OEP-3
176 pages
Print Icon
To Next Page IconTo Next Page
To Next Page IconTo Next Page
To Previous Page IconTo Previous Page
To Previous Page IconTo Previous Page
Loading...
1-5
OEP-3 V1 (UC)
8
Introduction
SOURCE/
MEMORY
MEMORY
PAGE
CAPTURE
PRINT
PRINTALARM
POWER
Location and Function of Parts and Controls
For details, refer to the pages given in parentheses.
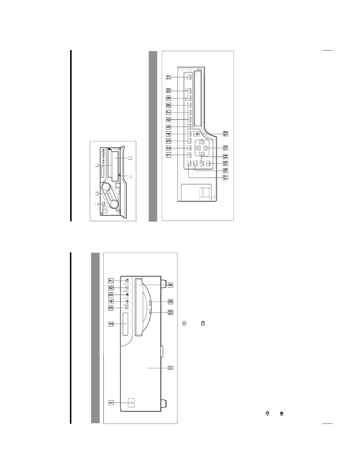
Main Panel
1 ! POWER switch
Press to turn the printer on or off.
2 Printer window display
Displays messages that also appear along the
bottom edge of the monitor screen. Also
displays the menu screen line at which the
cursor is positioned. If an error occurs, a
corresponding error message is displayed.
The contrast of the printer window display
can be adjusted on the SYSTEM SETUP
menu. Also, the printer window display can
be cleared on the SYSTEM SETUP menu.
3 Remote sensor
Aim the head of the remote control unit
toward this sensor.
4
MEMORY PAGE button (31, 44, 72)
Press to select the memory page.
5
SOURCE/MEMORY button (49, 72, 85,
105)
Press to select which signal is to be output to
the monitor.
The memory image and source image are
toggled each time you press this button.
6
CAPTURE button (23, 31, 49, 56, 57,
107)
Press to capture an image in a memory page.
7
PRINT button (24, 31, 56, 58, 68)
Press to make a printout.
8 Paper ejection slot
The printout is ejected here.
9 PRINT lamp
Lights while the printer is printing.
0 ALARM lamp (134)
Lights in orange when the ink ribbon or paper
is exhausted, the paper jams, or another
problem occurs.
qa Front door
Pull the top on the front door toward you to
open it.
Opening the front panel reveals the sub panel
buttons, ink ribbon cartridge, paper tray and
paper cover.
9
Introduction
SOURCE/
MEMORY
MEMORY
PAGE
CAPTURE
PRINT
POWER
A
B
C
D
E
When the front panel is open
A EJECT button (15)
Press to eject the ink ribbon cartridge.
B Ink ribbon cartridge (14, 77)
Insert the ink ribbon cartridge.
C Paper cover (76)
Paper is ejected onto this cover.
D Paper tray (18, 76)
Load paper into this tray.
E Sub panel keys
For details, see Sub Panel
Sub Panel
1 MENU button
Press this button to display or clear the menus
on the screen and printer window displays.
2 LOAD USER button (26, 125, 126)
Press this button to recall a registered user set.
Pressing this button causes the currently
selected user set to be is displayed for about
three seconds. To recall another user set,
release the button while the desired user set
number is displayed. Each time you press this
button, user set is switched in the order of 1, 2,
3.
3 MULTI PICTURE button (41, 57)
Press this button to select the desired printout
type on the regular screen. When you press
this button, the currently selected printout
type is displayed for about three seconds.
Each time you press this button, the type is
switched in the order of 1, 2, 4, 8, 16, 1....
The setting of MULTIPIX on the LAYOUT
SETUP menu changes linked with this button
setting.
4 PRINT QTY (quantity) button (28)
Press this button to set the number of copies
on the regular screen. You can set any number
up to 9. When you press this button, the
currently selected number is displayed for
about three seconds. The setting of PRT QTY
Continue to the next page c

Related product manuals