EasyManua.ls Logo

Omron CJ1W-AD081-V1 - Page 200

Omron CJ1W-AD081-V1
427 pages
Print Icon
To Next Page IconTo Next Page
To Next Page IconTo Next Page
To Previous Page IconTo Previous Page
To Previous Page IconTo Previous Page
Loading...
177
Operating Procedure Section 5-2
Setting the Analog Output Unit
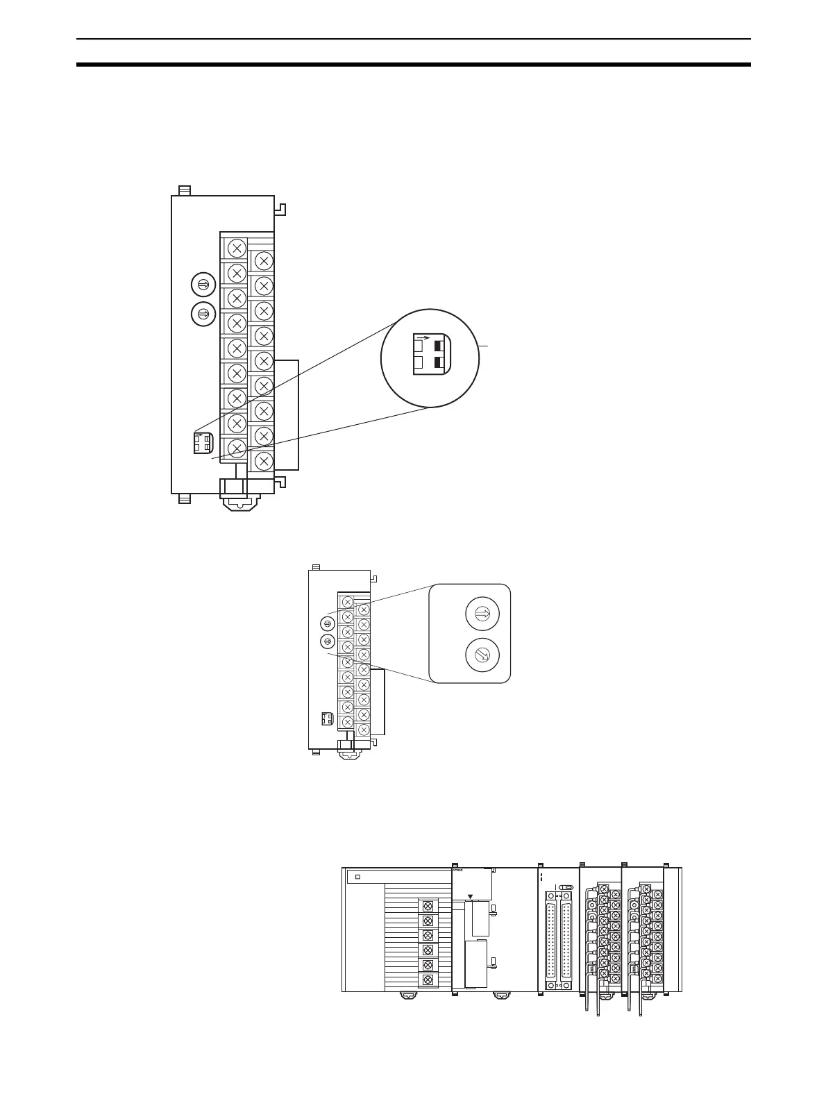
1,2,3... 1. Set the operation mode switch on the front panel of the Unit. Refer to 5-3-
3 Operation Mode Switch (DA021/041) for further details.
The CJ1W-DA08V/08C does not have this switch. Change the mode by
making the setting in D(m+18).
2. Set the unit number switch. Refer to 5-3-2 Unit Number Switch for further
details.
3. Connect and wire the Analog Output Unit. Refer to 1-2-1 Mounting Proce-
dure, Note The CJ1W-DA08V/08C Analog Output Unit has a software set-
ting for the operation mode in bits 00 to 07 of DM word m+18. The contents
of DM word m+18 are shown below. or 5-4-3 Output Wiring Example for
further details.
MACH
No.
DA041
RUN
ERC
ERH
B1 A1
ADJ
x10
1
x10
0
0
9
8
7
6
5
4
3
2
1
0
9
8
7
6
5
4
3
2
1
O
N
12
MODE
OFF
OFF
O
N
12
MODE
Turn OFF SW1 for normal mode.
MACH
No.
DA041
RUN
ERC
ERH
B1 A1
ADJ
x10
1
x10
0
0
9
8
7
6
5
4
3
2
1
0
9
8
7
6
5
4
3
2
1
O
N
12
MODE
MACH
No.
10
1
10
0
0
9
8
7
6
5
4
3
2
1
0
9
8
7
6
5
4
3
2
1
If the unit number is set to 1, words will
be allocated to the Analog Input Unit in
Special I/O Unit Area CIO 2010 to
CIO 2019 and in the Special I/O Unit
Area D20100 to D20199.
OD261
SYSMAC
CJ1G-CPU44
PROGRAMMABLE
CONTROLLER
RUN
ERR/ALM
INH
PRPHL
COMM
OPEN
PERIHERAL
PORT
MCPWR
BUSY
01234567
8 9 10 11 12 13 14 15
20
1
CN1
DC24V 0.3A
1
20
CN2
B/A A
/B
0
1
2
3
01234567
8 9 10 11 12 13 14
15
AD081
B1 A1
MACH
No.
x10
1
x10
0
RUN
ERC
ERH
ADJ
MODE
12
DA041
B1 A1
MACH
No.
x10
1
x10
0
RUN
ERC
ERH
ADJ
MODE
12

Table of Contents

Other manuals for Omron CJ1W-AD081-V1

Related product manuals