EasyManua.ls Logo

Omron CJ1W-DA041

Omron CJ1W-DA041
427 pages
To Next Page IconTo Next Page
To Next Page IconTo Next Page
To Previous Page IconTo Previous Page
To Previous Page IconTo Previous Page
Loading...
113
Adjusting Offset and Gain Section 3-7
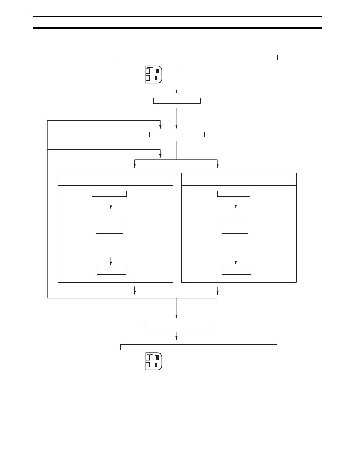
The following diagram shows the flow of operations when using the adjust-
ment mode for adjusting offset and gain.
!Caution Be sure to turn OFF the power to the PLC before changing the setting of the
operation mode switch.
!Caution The power must be cycled or the Unit restarted if the operation mode is set in
DM word m+18.
Set the operation mode to adjustment mode.
Turn ON the PLC.
When adjusting another input number
When adjusting the same input number
Set the input number.
Offset adjustment
Offset Bit ON
Set Bit ON
Turn OFF power to the PLC.
Set the operation mode to normal mode.
Gain adjustment
Gain Bit ON
Input adjustment
Set Bit ON
Input adjustment
O
N
12
MODE
ON
OFF
O
N
12
MODE
ON
OFF
Set the operation mode switch, or set the operation
mode in DM Area word m+18, to adjustment mode.
The ADJ indicator will flash while in adjustment mode.
Start up the PLC in PROGRAM mode.
Write the input number to be adjusted
in the rightmost byte of CIO word n.
(Bit 0 of CIO word
n+1 turns ON.)
Sampling
input
(Add inputs so that
conversion value
becomes 0.)
(Bit 4 of CIO word
n+1 turns ON.)
(Bit 1 of CIO word
n+1 turns ON.)
Sampling
input
(Add inputs so that
conversion value is
maximized.)
(Bit 4 of CIO word
n+1 turns ON.)
Set the operation mode switch, or set the operation
mode in DM Area word m+18, to normal mode.

Table of Contents

Related product manuals