EasyManua.ls Logo

Omron CJ1W-DA041

Omron CJ1W-DA041
427 pages
To Next Page IconTo Next Page
To Next Page IconTo Next Page
To Previous Page IconTo Previous Page
To Previous Page IconTo Previous Page
Loading...
300
Operating Procedure Section 7-2
b) Set as required.
c) The input Disconnection Detection Flag is allocated to bits 04 to
07 of word (n + 9). Refer to Allocations for Normal Mode on
page 316 and 7-6-6 Input Disconnection Detection Function for
further details.
2. The following example shows how to use analog outputs.
The setting address D00200 is stored in words (n+1) to (n+2) of the Special I/
O Unit Area (CIO 2011 to CIO 2012) as a signed binary value between 0000
to 0FA0 hex.
The following table shows the addresses used for analog output.
Note a) The addresses are set according to the unit number of the Special
I/O Unit. Refer to 7-3-2 Unit Number Switch for further details.
201904 Input 1 Disconnection Detection Flag (See note c.)
Always ON Flag
201906 Input 3 Disconnection Detection Flag (See note c.)
201907 Input 4 Disconnection Detection Flag (See note c.)
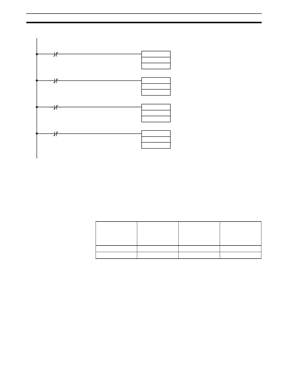
For 1 to 5 V, the hexadecimal value 0000
to 0FA0 will be stored in CIO 2015, so if
there is no disconnection (i.e., 201904 is
OFF), CIO 2015 will be stored in
D00100.
In the same way, for 0 to 10 V, CIO 2016
will be stored in D00101.
In the same way, for 4 to 20 mA, CIO 2017
will be stored in D00102.
In the same way, for 4 to 20 mA, CIO 2018
will be stored in D00103.
MOV (021)
2015
D00100
MOV (021)
2016
D00101
MOV (021)
2017
D00102
MOV (021)
2018
D00103
The disconnection detection function is not
valid for the 0 to 10-V range, so the
Disconnection Detection Flag cannot be
used.
Output number Input signal range Output setting
address
(n = CIO 2010)
See note 1.
Original
conversion
address
1 0 to 10 V (n+1) = CIO 2011 D00200
2 4 to 20 mA (n+2) = CIO 2012 D00201

Table of Contents

Related product manuals