EasyManua.ls Logo

Omron R88D-1SN10F-ECT - Control I;O Connector (CN1) Specifications

Omron R88D-1SN10F-ECT
974 pages
Print Icon
To Next Page IconTo Next Page
To Next Page IconTo Next Page
To Previous Page IconTo Previous Page
To Previous Page IconTo Previous Page
Loading...
3 - 27
3 Specifications
AC Servomotors/Servo Drives 1S-series with Built-in EtherCAT® Communications User’s Manual (I586)
3-1 Servo Drive Specifications
3
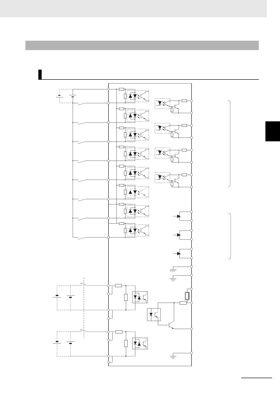
3-1-5 Control I/O Connector (CN1) Specifications
The following shows the specifications of the control I/O connector.
3-1-5 Control I/O Connector (CN1) Specifications
Control I/O Signal Connections and External Signal Processing
/ERR+
Error output
General output 1
General output 2
General output 3
/ERR-
OUT1+
OUT2+
OUT2-
OUT3+
OUT3-
COMMON
A+
A-
B+
B-
Z+
Z-
FG
EDM-
SF1+
SF1-
SF2+
SF2-
GND
FG
SF1+
SF1-
SF2+
SF2-
OUT1-
IN7
IN6
IN5
IN4
IN3
IN2
IN1
COMMON
IN8
SF1+
General Input 1
General Input 5
General Input 4
General Input 3
General Input 2
Line driver
output
EIA RS422A
compliant
24 VDC±5%
24 VDC±5%
Maximum service
voltage: 30 VDC
Maximum output
current: 50 mADC
Leakage current:
1 mA or less
Residual voltage:
2.0 V or less
(EDM+P)
1.7 V or less
(EDM+)
Encoder pulses
Phase Z output
Encoder pulses
Phase B output
Encoder pulses
Phase A output
Maximum
service voltage
: 30 VDC
Maximum
output current
: 50 mADC
External
power supply
External
power supply
General Input 8
General Input 7
General Input 6
Frame ground
12 VDC-5% to
24 VDC+5%
External power
supply
12 to 24 VDC
EDM+
EDM+ P
Without
short-circuit
protection
With short-circuit
protection

Table of Contents

Related product manuals