EasyManua.ls Logo

Omron R88D-KT10F - Page 590

Omron R88D-KT10F
634 pages
To Next Page IconTo Next Page
To Next Page IconTo Next Page
To Previous Page IconTo Previous Page
To Previous Page IconTo Previous Page
Loading...
11-29
11-5 Periodic Maintenance
OMNUC G5-SERIES AC SERVOMOTOR AND SERVO DRIVE USER'S MANUAL
11
Troubleshooting and Maintenance
Replacing the Absolute Encoder Battery
If an Absolute Encoder System Down Error (Alarm No. 40) occurs, replace the battery.
Battery Life
Examples of calculating the life of the absolute encoder battery are given below for robot
operation.
A battery capacity of 2,000 mAh is used in the calculations.
The calculations only estimate the life of the battery. The actual life may vary.
Precautions for Correct Use
Only the current consumption is included in the following calculations. They do not consider
deterioration of the battery due to fluid leakage or other factors. The battery life will be reduced
depending on ambient conditions.
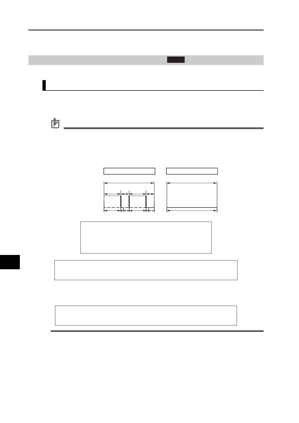
1. Example for Two Operations per Day
2. Example for One Operation per Day
An example of calculating the battery life is given below for when the second operation in the
first example given above is not performed.
a:Current consumption in normal mode: 3.6 μA
b:Current consumption in power-OFF timer mode: 180 μA
* In power-OFF timer mode, response up to the maximum
speed is possible even when the power is turned OFF (5 s).
c: Current consumption in power-OFF mode:80 μA
Consumed capacity in 1 year
(10 hr × a + 0.0014 hr × b + 2 hr × c) × 2 × 313 days+ 24 hr × c × 52 days = 222.7 mAh
Battery life = 2,000 mAh/222.7 mAh/year = 9.0 (8.9809) years
Consumed capacity in 1 year
(10 hr × a + 0.0014 hr × b + 14 hr × c) × 313 days+ 24 hr × c × 52 days = 461.7 mAh
Battery life = 2,000 mAh/461.7 mAh/year = 4.3 (4.3314) years
ABS
Monday to Saturday (313 days per year)
24 h
10 h
abc abc
2 h 10 h 2 h
Sunday (52 days per year)
24 h
c
Power supply
ON
OFF

Table of Contents

Related product manuals