EasyManua.ls Logo

Omron SYSDRIVE 3G3FV-*-CUE - Page 38

Omron SYSDRIVE 3G3FV-*-CUE
78 pages
Print Icon
To Next Page IconTo Next Page
To Next Page IconTo Next Page
To Previous Page IconTo Previous Page
To Previous Page IconTo Previous Page
Loading...
www.dadehpardazan.ir 88594014-15
2-19
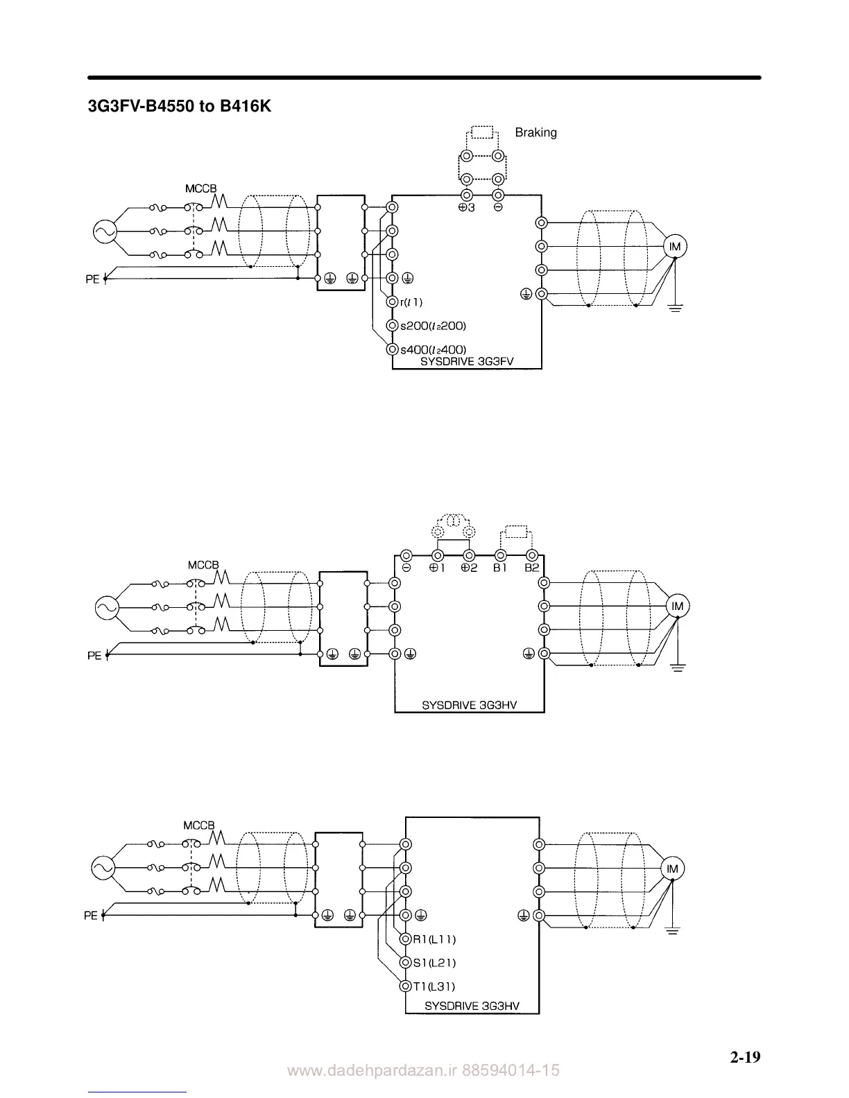
3G3FV-B4550 to B416K
Braking Resistor Unit (optional)
Braking Unit (optional)
3-phase 400 VAC
Fuse
Shield Noise filter
Shield
Three-phase
induction motor
L1 (R)
L2 (S)
L3 (T)
T1 (U)
T2 (V)
T3 (W)
Note 1. The DC reactor is built in.
Note 2. The rL1(R) and s(s400)L2(S) terminals are short-circuited for shipping.
D 3G3HV Model
3G3HV-AB004 to AB037, A4004 to A4150
Single phase 200 VAC
3-phase 400 VAC
Fuse
Shield Noise filter Shield
Three-phase
induction motor
DC reactor (optional) Braking Resistor Unit (optional)
L1 (R)
L2/N (S)
L3 (T)
T1 (U)
T2 (V)
T3 (W)
Note 1. Be sure to remove the short bar before connecting a DC reactor.
Note 2. Connect between L1 (R) and N (S) for the input of the 200-VAC single phase.
3G3HV-B4185 to B416K
3-phase 400 VAC
Fuse
Shield Noise filter
Shield
Three-phase
induction motor
L1 (R)
L2 (S)
L3 (T)
T1 (U)
T2 (V)
T3 (W)
Installation Chapter 2

Related product manuals