EasyManua.ls Logo

Onkyo R-801A

Onkyo R-801A
52 pages
To Next Page IconTo Next Page
To Next Page IconTo Next Page
To Previous Page IconTo Previous Page
To Previous Page IconTo Previous Page
Loading...
40
Using the timer
Before using the timer for listening to or
recording broadcast programs, you need to
store the preset stations. (Refer to Receiv-
ing stations on page 31, 32 for information
how to preset stations.)
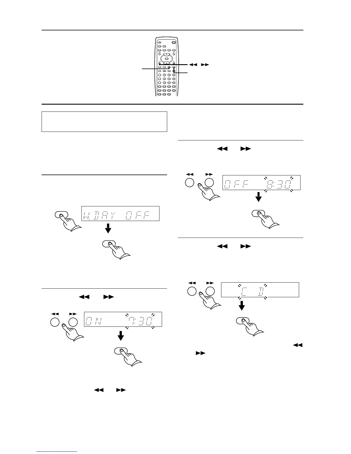
1 Press the TIMER button repeatedly
until W.DAY OFF or W.END OFF is
displayed, and press the ENTER button.
ON and OFF indicate whether the
timer is currently set. The initial setting is
OFF.
2
Press the
or
button to set the
ON time, and press the ENTER button
.
Notes
You can also use the number buttons
instead of the or button to set
the desired playing ON and OFF times. To
do so, refer to step 3 on page 24 and
select the 24-hour display. You cannot use
the number buttons if you select the 12-
hour display.
When you store the ON time, the display
automatically indicates that the OFF time
is one hour after the ON time you speci-
ed.
3 Press the or button to select
the OFF time, and press the ENTER
button.
4 Press the or button to select
the source (FM, AM, CD (or DVD), MD,
CDR, TAPE), and press the ENTER but-
ton.
If you select FM or AM, press the
or button again to select the preset
number and press the ENTER button.
If you select CDR, the display indicates
CDR/PC at the programmed time.
(continued on the next page)
REPEAT
STANDBY/ ON
TAPE
TAPE REW TAPE FF
SLEEP TIMER ENTER
CLOCK
MODE
CLEAR
SCROLL
CDR/PC
CD/ DVD
MD FM AM
ACOUSTIC
PRESENCE
INPUT SELECTOR
TAPE
CDR/PC
CD/DVD
MD
V
O
L
U
M
E
MUTING
7
8
9
10/0
4
5
6
2
3
1
--
/
---
UP
DOWN
TIMER
ENTER
,
Programming to play at a speci-
ed time
TIMER
ENTER
ENTER
ENTER
ENTER

Other manuals for Onkyo R-801A

Related product manuals