EasyManua.ls Logo

Onkyo TX-NR1008

Onkyo TX-NR1008
104 pages
To Next Page IconTo Next Page
To Next Page IconTo Next Page
To Previous Page IconTo Previous Page
To Previous Page IconTo Previous Page
Loading...
22
En
The AV receiver supports several connection formats for compatibility with a wide range of AV equipment. The format
you choose will depend on the formats supported by your components. Use the following sections as a guide.
Video Connection Formats
Video component can be connected by using any one of the following video connection formats: composite video,
S-Video, PC IN (Analog RGB), component video or HDMI, the latter offering the best picture quality.
The AV receiver can upconvert and downconvert between video formats, depending on the “Monitor Out” setting
( 43), which generally determines whether video signals are upconverted for the component video output or the HDMI
output.
For optimal video performance, THX recommends that video signals pass through the system without upconver-
sion (e.g., component video input through to component video output).
To by-pass video upconversion in the AV receiver, simultaneously press the VCR/DVR and RETURN on the AV
receiver. While continuing to hold down the VCR/DVR, press RETURN to toggle until “Skip” appears on the
display. Release both buttons.
To use the video upconversion in the AV receiver, repeat the above process until “Use” appears on the display and
release the buttons.
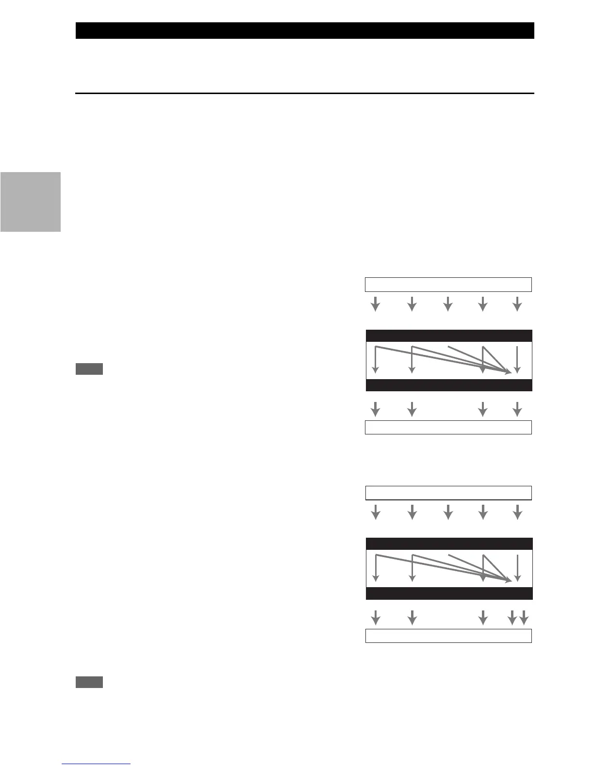
“Monitor Out” setting set to “HDMI Main” or “HDMI Sub”
Video input signals flow through the AV receiver as shown,
with composite video, S-Video, PC IN (Analog RGB) and
component video sources all being upconverted for the
HDMI output. Use these settings if you connect the AV
receiver’s HDMI OUT MAIN or HDMI OUT SUB,
respectively, to your TV.
The composite video, S-Video and component video outputs
pass through their respective input signals as they are.
Note
If not connected to the same output you have selected in the “Mon-
itor Out” setting, the “Monitor Out” setting will be automatically
switched to “Analog” ( 23).
In this case, the setting of the output resolution will be that for
HDMI output ( 43). Moreover, it will be switched to “1080i
when “1080p” is selected, and to “Through” when “Auto” is
selected.
“Monitor Out” setting set to “Both”, “Both(Main)” or “Both(Sub)”
Video input signals flow through the AV receiver as shown,
with composite video, S-Video, PC IN (Analog RGB) and
component video sources all being upconverted for both
HDMI outputs. Use these settings if you connect the AV
receiver’s HDMI OUT MAIN and HDMI OUT SUB to
your TVs.
The composite video, S-Video and component video outputs
pass through their respective input signals as they are.
` Both: Video signals are output from both HDMI outputs
at the resolution supported by both TVs. You cannot
select “Resolution” setting.
` Both(Main): Video signals are output from both HDMI
outputs but HDMI OUT MAIN will become a priority;
depending on the resolution, video signals may not be
output from HDMI OUT SUB.
` Both(Sub): Video signals are output from both HDMI outputs but HDMI OUT SUB will become a priority; depend-
ing on the resolution, video signals may not be output from HDMI OUT MAIN.
Note
•TheMonitor Out” setting will be automatically switched to “Analog” ( 43) if not connected to both outputs when “Both” is
selected or if not connected to a priority output when “Both(Main)” or “Both(Sub)” is selected.
Which Connections Should I Use?
IN
MONITOR OUT
Blu-ray Disc/DVD player, etc.
AV receiver
TV, projector, etc.
Video Signal Flow Chart
Composite
S-Video Component HDMI
Composite
S-Video Component HDMI
PC IN
(Analog RGB)
IN
MONITOR OUT
AV receiver
Composite
Composite
S-Video
Component
Video Signal Flow Chart
HDMI
HDMI
TV, projector, etc
Blu-ray Disc/DVD player, etc.
S-Video Component
PC IN
(Analog RGB)

Table of Contents

Other manuals for Onkyo TX-NR1008

Related product manuals